Описание регуляторов давления ПГ57-62; ПГ57-64
Регуляторы давления ПГ57-62, ПГ57-64 предназначены для поддержания редуцированного давления в уравновешивающих цилиндрах вертикально расположенных рабочих органов станков и других гидрофицированных машин.Регуляторы давления типа ПГ57-6 для уравновешивающих цилиндров имеют две дросселирующие кромки на золотнике, поэтому в зависимости от направления потока масла в отводном отверстии они могут работать как в предохранительном, так и в редукционном режимах.
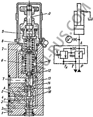
Регуляторы давления ПГ57-6 (см. рисунок ниже) содержат корпус 1, двухкромочный переливной золотник 4, вспомогательный клапан 7, крышку 9, пружины 6, 8 и регулировочный винт 10 Масло из напорной линии Р подводится в полость 16 и далее через щель между корпусом и кромкой 5 поступает в полость 15, соединенную с уравновешивающим цилиндром линией А. Полость 15 каналами в корпусе соединена с нижними торцовыми полостями 2 и 12 золотника 4 и через малое отверстие 3 в золотнике — с верхней торцовой полостью 11, откуда масло через клапан 7 может поступать в полость 13, соединенную со сливной линией Т.
Таким образом, когда поток масла входит в уравновешивающий цилиндр (движение вверх), регулятор работает аналогично редукционному клапану непрямого действия, а при движении вниз - подобно предохранительному клапану непрямого действия, перепускающему масло в бак из линии А через щель между корпусом и кромкой 14 золотника. Поскольку при работе в обоих режимах давление определяется настройкой одного и того же клапана 7, усилие уравновешивания остается практически постоянным (в том числе и при остановке рабочего органа), а наличие положительного перекрытия по дросселирующим кромкам 5 и 14 исключает возможность потока от линии Р к линии Т. Типовая схема применения регуляторов давления ПГ 57-62, ПГ 57-64, а также габаритные и присоединительные размеры показаны на рисунках ниже.
Основные параметры регуляторов давления типа ПГ57-6 для уравновешивающих цилиндров (ТУ2-053-1414—79Е)
|
Параметры |
Регулятор давления ПГ57-62 |
Регулятор давления ПГ57-64 |
|
Условный проход регулятора, мм |
10 |
20 |
|
Расход рабочей жидкости номинальный / максимальный / минимальный, л/мин |
20 / 40 / 0 |
80 / 100 / 0 |
|
Давление в напорной линии, МПа |
0,5...10,0 |
|
|
Давление в полости уравновешивающего цилиндра, МПа |
0,6...5,0 |
|
|
Изменение установленного давления в полости уравновешивающего цилиндра при различных направлениях потока не более, МПа |
0,4 |
|
|
Расход масла через вспомогательный клапан не более, л/мин |
1,0 |
|
|
Минимальная разница между давлениями на входе и в полости уравновешивающего цилиндра, МПа |
0,5 |
|
|
Масса не более, кг |
3,2 |
4,8 |
Конструкция регуляторов давления ПГ57-62, ПГ57-64 (слева) и типовая схема применения (справа)
Габаритные и присоединительные размеры ПГ57-62, ПГ57-64
Пример условного обозначения при заказе регулятора давления для уравновешивателей с условным проходом 10 мм, с давлением в напорной линии от 0,5 до 10 МПа, с номинальным расходом рабочей жидкости 40 л/мин, для районов с умеренным и холодным климатом, категория размещения 4: Регулятор давления ПГ57-62 УХЛ4
