Описание реле давления хГ62-11; Г62-21(М)
Реле давления ПГ62-11, БПГ62-11, ВПГ62-11, ГПГ62-11, Г62-21М плунжерного типа с электрическим микропереключателем предназначены для контроля давления рабочей среды в гидравлических системах станков и других промышленных машин с давлением до 32 МПа.
Реле давления типа ПГ62-11, Г62-21 применяется для автоматизации работы станков, отвода инструментов при чрезмерном повышении усилия подачи, автоматического отвода суппорта при работе по упорам и др. Эти функции управления реле давления осуществляются на расстоянии золотниковыми устройствами.
Реле давления ПГ62-11, Г62-21 предназначено для последовательного включения или выключения отдельных исполнительных органов машины и для осуществления дистанционного управления. ПГ62-11, Г62-21 могут обеспечить контроль за давлением в гидросистеме с подачей электросигнала, свидетельствующего, например, о перегрузке системы.
Параметры реле давления ПГ62-11, БПГ62-11, ВПГ62-11, ГПГ62-11, Г62-21М
|
Параметр |
Исполнения |
||||
|
ПГ62-11 |
БПГ62-11 |
ВПГ62-11 |
ГПГ62-11 |
Г62-21М |
|
|
Контролируемое давление, МПа |
0,6 - 5,0 |
0,8 - 10,0 |
1,0 - 20,0 |
5,0 - 32,0 |
0,5 - 6,4 |
|
Нечувствительность (при работе с резиновым уплотнением на золотнике), МПа |
0,5 |
1 |
1,5 |
1,5 |
0,3 |
|
Утечка масла из дренажного отверстия не более, см³/мин |
10 |
20 |
50 |
50 |
- |
|
Масса реле давления, кг |
3,0 |
3,0 |
3,0 |
3,0 |
1,5 |
Чертежи и принцип работы реле давления ПГ62-11, БПГ62-11, ВПГ62-11, ГПГ62-11, Г62-21М
Чертежи реле давления ПГ62-11 (рис. а), Г62-21М (рис. б)
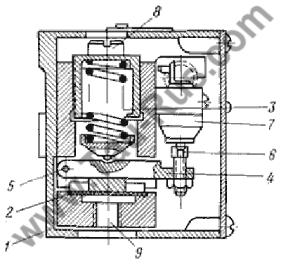
Принцип работы реле давления типа Г62 рассмотрим на примере работы реле давления Г62-21 (рисунок слева). Реле давления состоит из корпуса 1, диафрагмы 2, пружины 3, рычага 4 с осью 5, винта 6, микропереключателя 7. Рабочая жидкость на контролируемой ветви гидросистемы подводится к отверстию 9. Если подведенное давление окажется выше установленного настройкой пружины 3, то диафрагма 2 деформируется и передает давление на рычаг 4, который при повороте вокруг оси 5 винтом 6 воздействует на микропереключатель 7. Регулировка реле давления осуществляется при помощи изменения сжатия пружины 3 винтом 8.
С момента начала деформации диафрагмы 2 до момента срабатывания реле давления типа Г62, т.е. до момента включения микропереключателя 7, произойдет увеличение давления, которое характеризует нечувствительность аппарата. Нечувствительность реле давления различных типоразмеров колеблется от 0,3 до 1,0 МПа. Контролируемое давление находится в диапазоне от 0,5 до 32 МПа.
Фотографии реле давления ПГ62-11, Г62-21
ВПГ62-11 - фото, описание
Реле давления ВПГ62-11 УХЛ4.
