Описание гидроклапанов давления *Г54-3
- Регулирование перепада давлений - поддержание заданной разности давлений, установленной регулируемой пружиной, между подводимым и отводимым потоками рабочей жидкости (масла) либо между одним из этих потоков и сторонним источником давления.
- Управление последовательностью - пропуск потока рабочей жидкости при достижении в нём (или в управляющем потоке при дистанционном регулировании) давления, заданного настройкой пружины.
- Защита системы - выполнение роли предохранительного клапана для предотвращения превышения максимально допустимого давления в объёмном гидравлическом приводе.
- Стабилизация давления - работа в качестве переливного клапана, обеспечивающего заданный уровень давления за счёт постоянного сброса части рабочей жидкости (масла) через сливной канал во время функционирования гидросистемы.
Клапаны Г54-3 (гидравлические) производятся в двух вариантах присоединения: резьбовом и стыковом. В случае резьбового исполнения, монтажные отверстия в корпусе для подключения гидролиний имеют коническую резьбу. В стыковом исполнении отверстия выведены на монтажную плоскость и снабжены цековками под уплотнительные кольца (соответствующие ГОСТ 9833-73). Это обеспечивает герметичность соединения клапана со специальными панелями или промежуточными плитами, в которых выполнены резьбовые отверстия для непосредственной установки присоединительных штуцеров.

Структура условного обозначения
|
1 |
2 |
3 |
4 |
5 |
6 |
|---|---|---|---|---|---|
|
П |
Б |
Г54-3 |
5 |
М |
УХЛ 4 |
|
1 |
Исполнение по способу монтажа |
без обозначения = трубного монтажа П = стыкового монтажа |
| 2 | Исполнение по номинальному давлению настройки |
А = 1,0 МПа Б = 6,3 МПа В = 10,0 МПа Д = 20,0 МПа без обозначения = 2,5 МПа |
| 3 | Тип устройства | Г54-3 = гидроклапан давления |
| 4 | Исполнение по условному проходу |
2 = 10 мм 4 = 20 мм 5 = 32 мм |
| 5 | Исполнение |
М = модернизированный без обозначения = стандартный |
| 6 | Климатическое исполнение по ГОСТ 15150 | УХЛ4, 04.1 |
Технические характеристики
|
Исполнения |
ДУ, мм |
Расход рабочей жидкости |
Внутренние утечки, см3/мин, не более |
Давление настройки номин., МПа |
Диапазон настройки давления, МПа |
Номинальный перепад давлений, МПа |
Масса клапана трубного монтажа, кг |
Масса клапана стыкового монтажа, кг |
||
|---|---|---|---|---|---|---|---|---|---|---|
|
Мин. |
Ном. |
Макс. |
||||||||
|
Г54-32(М) |
10 |
1 |
32 |
45 |
15 |
2,5 |
0,4-2,8 |
0,2 |
2,3 |
2,55 |
|
АГ54-32(М) ПАГ54-32 |
25 |
1,0 |
0,3-1,2 |
|||||||
|
БГ54-32(М) ПБГ54-32 |
65 |
6,3 |
0,6-7,0 |
|||||||
|
ВГ54-32(М) ПВГ54-32 |
100 |
10,0 |
1,2-11,2 |
|||||||
|
ДГ54-32(М) ПДГ54-32 |
200 |
20,0 |
4,0-23,0 |
|||||||
|
Г54-34(М) |
20 |
3 |
120 |
160 |
20 |
2,5 |
0,4-2,8 |
0,6 |
3,1 |
4,0 |
|
АГ54-34(М) ПАГ54-34 |
35 |
1,0 |
0,3-1,2 |
|||||||
|
БГ54-34(М) ПБГ54-34 |
90 |
6,3 |
0,6-7,0 |
|||||||
|
ВГ54-34(М) ПВГ54-34 |
140 |
10,0 |
1,2-11,2 |
|||||||
|
ДГ54-34(М) ПДГ54-34 |
280 |
20,0 |
4,0-23,0 |
|||||||
|
Г54-35(М) |
32 |
9 |
200 |
300 |
50 |
2,5 |
0,4-2,8 |
0,2 |
6,4 |
6,8 |
|
АГ54-35(М) ПАГ54-35 |
75 |
1,0 |
0,3-1,2 |
|||||||
|
БГ54-35(М) ПБГ54-35 |
90 |
6,3 |
0,6-7,0 |
|||||||
|
ВГ54-35(М) ПВГ54-35 |
150 |
10,0 |
1,2-11,2 |
|||||||
|
ДГ54-35(М) ПДГ54-35 |
300 |
20,0 |
4,0-23,0 |
|||||||
Принцип работы гидроклапанов давления
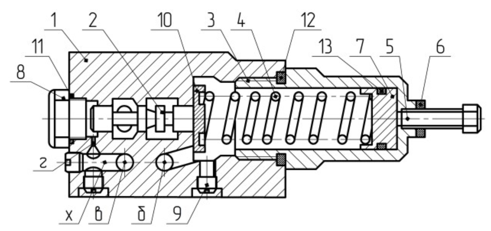
В корпусе 1 помещен золотник 2. Расположенная в колпачке 3 пружина 4 через шайбу 10 препятствует перемещению золотника внутрь колпачка. Натяг пружины регулируется перемещением упора 7 с помощью регулировочного винта 5, контргайка 6 на винте фиксирует настройку.
Рабочая жидкость, подводимая в полость клапана Р, через каналы «в, х» и демпферное отверстие «г» поступает под торец золотника 2. Давление жидкости на торец золотника уравновешивается усилием пружины 4. При возрастании давления в подводящей гидролинии увеличивается давление и на торец золотника 2. Преодолевая усилие пружины, золотник 2 сдвигается и соединяет полости Р и А. так как полость под колпачком 3 соединена каналом «Б» с полостью отвода А, то разность давлений в подводящем и отводящем каналах, определяемая усилием пружины, поддерживается постоянной независимо от изменения давления в гидросистеме.Габаритные и присоединительные размеры гидроклапанов Г54-3 трубного монтажа
|
Обозначение |
d1 |
d2 |
L |
B |
b |
H |
h1 |
h2 |
h3 |
h4 |
h5 |
h6 |
|
Г54-32(М) |
K3/8’’ |
K1/8’’ |
50 |
79 |
32 |
201 |
91 |
2,0 |
48 |
64 |
22 |
79 |
|
АГ54-32(М) |
||||||||||||
|
БГ54-32(М) |
||||||||||||
|
ВГ54-32(М) |
||||||||||||
|
ДГ54-32(БМ) |
||||||||||||
|
Г54-34(М) |
K3/4’’ |
78 |
84 |
35 |
220 |
109 |
2,5 |
52 |
75 |
24 |
93 |
|
|
АГ54-34(М) |
||||||||||||
|
БГ54-34(М) |
||||||||||||
|
ВГ54-34(М) |
||||||||||||
|
ДГ54-34(М) |
242 |
|||||||||||
|
Г54-35(М) |
K1 1/4’’ |
100 |
94 |
40 |
252 |
142 |
3,0 |
58 |
101 |
125 |
||
|
АГ54-35(М) |
||||||||||||
|
БГ54-35(М) |
||||||||||||
|
ВГ54-35(М) |
||||||||||||
|
ДГ54-35(М) |
274 |
Габаритные и присоединительные размеры гидроклапанов давления Г54-3 стыкового монтажа
|
Обозначение |
d1 |
d2 |
L |
L1 |
L2 |
L3 |
L4 |
B |
b |
H |
h1 |
h2 |
h3 |
h4 |
h5 |
h6 |
|
ПГ54-32(М) |
10 |
11 |
68 |
50 |
38 |
20 |
12 |
67 |
49 |
201 |
91 |
2,0 |
13 |
13 |
28 |
36 |
|
ПАГ54-32(М) |
||||||||||||||||
|
ПБГ54-32(М) |
||||||||||||||||
|
ПВГ54-32(М) |
||||||||||||||||
|
ПДГ54-32(БМ) |
||||||||||||||||
|
ПГ54-34(М) |
18 |
13 |
88 |
67 |
53,5 |
29,5 |
13,5 |
66 |
55 |
220 |
109 |
2,5 |
12 |
20 |
43 |
32 |
|
ПАГ54-34(М) |
||||||||||||||||
|
ПБГ54-34(М) |
||||||||||||||||
|
ПВГ54-34(М) |
||||||||||||||||
|
ПДГ54-34(М) |
71 |
242 |
||||||||||||||
|
ПГ54-35(М) |
25 |
17 |
108 |
80 |
60 |
32 |
20 |
74 |
64 |
252 |
142 |
3,0 |
10 |
26 |
70 |
|
|
ПАГ54-35(М) |
||||||||||||||||
|
ПБГ54-35(М) |
||||||||||||||||
|
ПВГ54-35(М) |
||||||||||||||||
|
ПДГ54-35(М) |
274 |