Описание пневмораспределителей 5РМ-233
Пневмораспределители 5РМ-233-72-0-1-А220(A110,Д24), 5РМ-233-73-0-1-А220(A110,Д24) с резьбовым присоединением к пневмолиниям, четырехлинейные, двухпозиционные с односторонним электроуправлением и пружинным возвратом предназначены для изменения направления движения потоков сжатого воздуха в пневматических приводах станков и станочного оборудования.Распределители 5РМ.233-72(73)-0-1-А220, 5РМ.233-72(73)-0-1-А110, 5РМ.233-72(73)-0-1-Д24 применяются в пневматических системах для распределения потоков сжатого воздуха, работают на сжатом воздухе, очищенном не грубее 10 класса загрязненности по ГОСТ 17433 и содержащем распыленное масло вязкостью 10-35 мм2/с при температуре 50 °С с концентрацией из расчета 1-2 капли на 1м3 воздуха, приведенных к нормальным условиям (температура 20 °С, давление 10 МПа).
Пневмораспределители (воздухораспределители) 5РМ имеют размеры стыковой поверхности монтажных плит соответствующие ISO 5599-1
Параметры распределителей 5РМ-233-72-0-1-А220(A110,Д24), 5РМ-233-73-0-1-А220(A110,Д24)
|
Параметр |
Нормы для типоразмеров |
|
|
5РМ 233-72-0-1-А220 |
5РМ 233-73-0-1-А220 |
|
|
Условный проход пневмораспределителя, мм |
10 |
16 |
|
Номинальное / минимальное давление, МПа |
0,63 / 0,25 |
|
|
Пропускная способность, Кv по ГОСТ14691-69, м³/ч, не менее |
1,9 |
2,8 |
|
Время срабатывания при давлении 0,4 МПа, с, не более |
0,1 |
|
|
Номинальное напряжение питания, В: постоянного тока / переменного тока 50Гц / переменного тока 60Гц |
12,24,48,110 / 24,110,220,380 / 110,220 |
|
|
Номинальная потребляемая мощность, не более: постоянного тока, Вт / переменного тока 50Гц, ВА / переменного тока 60Гц, ВА |
7 / 9 / 12 |
|
|
Масса, кг, не более |
1,7 |
1,7 |
|
Присоединительные резьбы по ГОСТ 6111-52 |
К3/8" |
К1/2" |
Обозначение распределителей 5РМ-233-72-0-1-А220(A110,Д24), 5РМ-233-73-0-1-А220(A110,Д24)
|
1 |
- |
2 |
- |
3 |
- |
4 |
- |
5 |
- |
6 |
|
5РМ |
233 |
72 |
0 |
1 |
A110 |
| 1 | Тип устройства | 5РМ = пневмораспределитель четырёхлинейный, стыковая поверхность по ISO 5599-1 |
| 2 | Пневмосхема | 233 |
| 3 | Монтажные размеры |
72 = для трубного монтажа с отверстиями в стороны и присоединительной резьбой K3/8" 73 = для трубного монтажа с отверстиями в стороны и присоединительной резьбой K1/2" |
| 4 | Наличие индикации управляющего сигнала | 0 = без индикации управляющего сигнала |
| 5 | Тип присоединения | 1 = присоединение к электросети через разъём |
| 6 | Род, частота, номинальное напряжение тока |
Д24 = 24 В пост. тока, А110 = 110 В перем. тока 50 Гц, А220 = 220 В перем. тока 50 Гц |
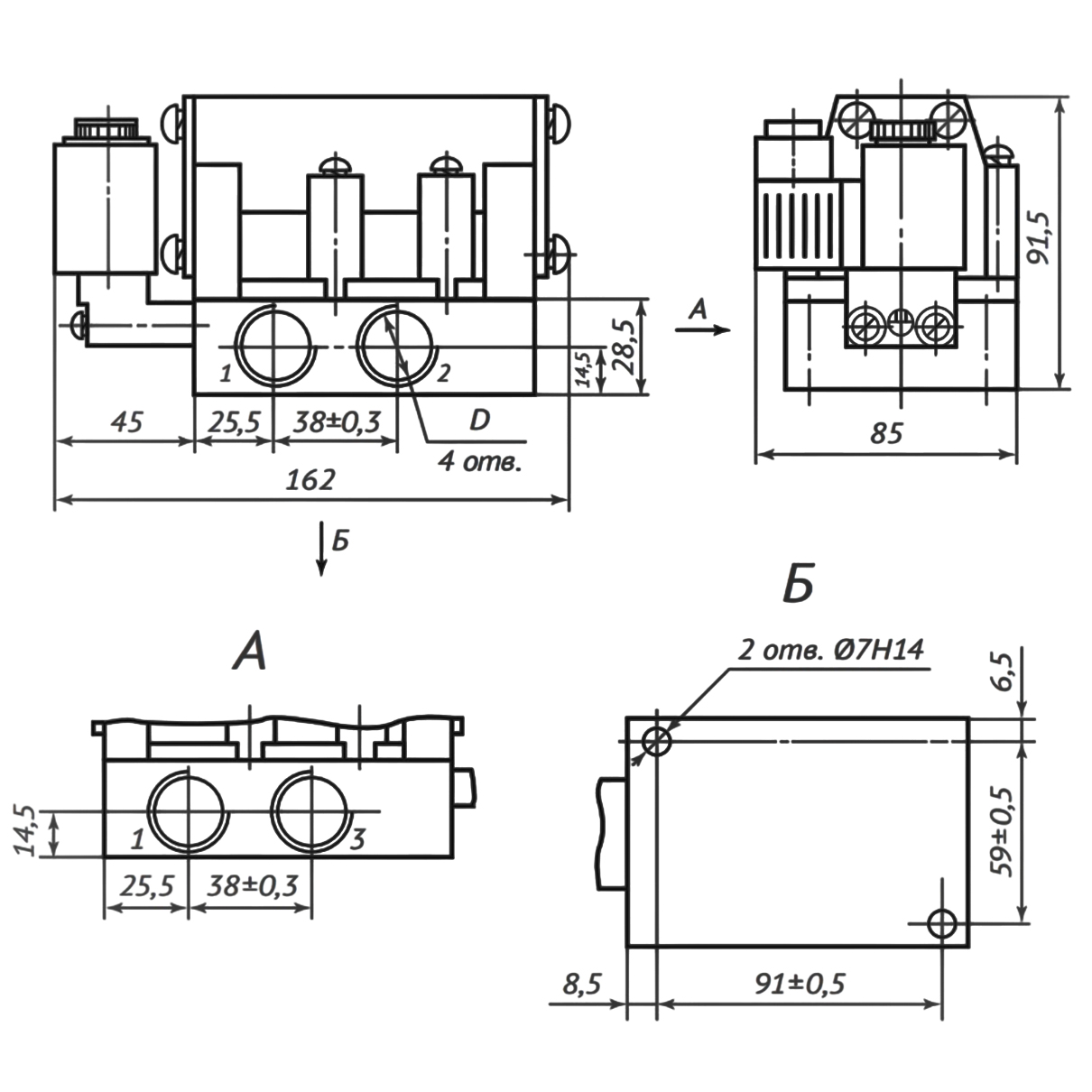
Размеры распределителей 5РМ 233-72(73)-0-1-А220, 5РМ.233-72(73)-0-1-А110, 5РМ 233-72(73)-0-1-Д24
5РМ-233-72-0-1-А220(A110,Д24) пневмораспределитель
Основные параметры пневмораспределителя 5РМ.233-72-0-1:
- условный проход Ду=10 мм;
- присоединительная резьба К3/8";
- напряжение: 5РМ 233-72-0-1-Д24 = 24 В постоянного тока; 5РМ 233-72-0-1-А110 = 110 В переменного тока; 5РМ 233-72-0-1-А220 = 220 В переменного тока;
- номинальное давление на входе 0,63 МПа;
- время срабатывания, не более 0,1 с;
- вес не более 1,7 кг.
5РМ-233-73-0-1-А220(A110,Д24) пневмораспределитель
Основные параметры пневмораспределителя 5РМ.233-73-0-1:- условный проход Ду=16 мм;
- присоединительная резьба К1/2";
- напряжение: 5РМ 233-73-0-1-Д24 = 24 В постоянного тока; 5РМ 233-73-0-1-А110 = 110 В переменного тока; 5РМ 233-73-0-1-А220 = 220 В переменного тока;
- номинальное давление на входе 0,63 МПа;
- время срабатывания, не более 0,1 с;
- вес не более 1,7 кг.
Пример записи условного обозначения пневмораспределителя четырехлинейного, с электропневматическим односторонним управлением с катушкой на 110 вольт переменного тока и пружинным возвратом, условным проходом 10 мм (резьба К3/8"): Пневмораспределитель 5РМ.233-72-0-1-А110, то же, но с условным проходом 16 мм (резьба К1/2"): Пневмораспределитель 5РМ.233-73-0-1-А110.
