Описание фильтров-регуляторов П-ФРК

Фильтр-влагоотделитель П-ФРК и редукционный клапан – функциональные части блока подготовки сжатого воздуха.
Данные блоки предназначены для очищения сжатого воздуха от капельной влаги и твердых частиц, удаления конденсата и автоматического поддержания величины давления на заданном уровне в пневматических приводах и системах промышленного оборудования.
Преимущества блоков-подготовки П-ФРК:
- Улучшает качество воздуха, продлевая срок службы пневмооборудования.
- Обеспечивает стабильное давление в системе.
- Снижает риск коррозии и засорения пневмолиний.
- Компактная конструкция (3 функции в одном устройстве).
- Высокая степень очистки воздуха за счет металлокерамического фильтра.
- Удобство обслуживания благодаря продуманному доступу к дренажу и регуляторам.
Структура условного обозначения П-ФРК, бренда «ТАУРУС»
| 1 | - | 2 | - | 3 |
| П-ФРК | 16 | 5 |
| 1 | Тип устройства |
П-ФРК = Фильтр-регулятор
|
| 2 | Условный проход |
4 мм 6 мм 10 мм 16 мм 25 мм |
| 3 | Тонкость фильтрации |
5 = 5 мкм Без обозначения = 25 мкм |
Технические характеристики П-ФРК, бренда «ТАУРУС»
|
Параметр |
Нормы для типоразмеров |
||||
| 4 | 6 | 10 | 16 | 25 | |
| Условный проход, мм | 4 | 6 | 10 | 16 | 25 |
| Присоединение пневмолиний, дюйм | G1/8 | G1/4 | G3/8 | G1/2 | G1 |
| Номинальное давление, МПа | 1 | ||||
| Диапазон регулировки давления, МПа | 0,05-0,85 | ||||
|
Номинальный расход воздуха при давлении на выходе 0,5 МПа, м3/мин, не менее |
0,15 | 0,25 | 0,63 |
1,6 |
4,5 |
| Абсолютная тонкость фильтрации, мкм | 25 (5) | ||||
| Степень влагоотделения, %, не менее | 90 | ||||
| Рабочая температура, °C | 5-60 | ||||
| Отвод конденсата | ручной |
полуавтоматический с возможностью ручного |
|||
|
Масса, кг, не более |
0,18 |
0,29 |
0,55 |
1,08 |
|
Устройство и принцип работы П-ФРК, бренда «ТАУРУС»
К основанию корпуса крепится резервуар для сбора конденсата, интегрированный с компонентами фильтра-влагоотделителя модели П-ФВ. В верхней части корпуса установлен стакан, внутри которого размещен редукционный пневмоклапан П-РК 2 с механизмом точной настройки давления.
Сжатый воздух поступает через входное отверстие (4) в корпусе, направляется в крыльчатку фильтра-влагоотделителя, где приобретает нисходящее вращательное движение. После прохождения через металлокерамический фильтрующий элемент воздух очищается от примесей и поступает в редукционный клапан, откуда направляется к выходному отверстию блока.
Металлический кожух (1): защищает прозрачный стакан фильтра. Наличие прорезей (5) позволяет визуально отслеживать уровень загрязнений. Дренажный механизм (6): расположен в нижней части стакана. Для ручного сброса конденсата (при отсутствии давления) необходимо открутить штуцер устройства.
Регулятор давления (3) обеспечивает плавную регулировку выходного давления в пределах всего рабочего диапазона. Фиксация рукоятки в нужном положении выполняется легким нажатием. Для установки манометра открутите заглушку в отверстии (7) на корпусе блока.
Требования к монтажу: Блок монтируется вертикально (допустимое отклонение — до 5º) в легкодоступном месте для удобства контроля и обслуживания. Возможна установка непосредственно на трубопровод или с использованием кронштейна (8), закрепленного на редукционном клапане.
Стрелка на корпусе блока должна совпадать с направлением потока воздуха.
Габаритные и присоединительные характеристики П-ФРК, бренда «ТАУРУС»

Габариты и присоединительные размеры П-ФРК-4
| Модель | Резьба | A | B | C | D | E | F | G | H | J | K | L | M | N | P |
|
П-ФРК-4 |
1/8" | 40 | 164,5 | 78 | 40 | 56,8 | 30 | 34 |
43,5 |
5,4 | 15,4 | 55 | 2,3 | 33,5 | 40 |
| П-ФРК-6 | 1/4" | 53 | 211 | 92,5 | 53 | 60,8 | 41 | 40 | 46 | 6,5 | 8 | 53 | 42,5 | 56 | |
| П-ФРК-10 | 3/8" | 70 | 262 | 112 |
70 |
70,5 |
50 |
54 | 53,5 |
8,5 |
10,5 |
70 |
52,2 |
73 | |
| П-ФРК-16 | 1/2" | ||||||||||||||
| П-ФРК-25 | 1" | 90 |
338 |
116 | 90 | 75,5 | 69,8 | 62 | 3,2 | 90 |

Габариты и присоединительные размеры П-ФРК-6 (-10, -16, -25)
Структура условного обозначения П-ФРК, бренда «ПНЕВМОАППАРАТ»
| 1 | - | 2 | - | 3 | - | 4 | - | 5 |
| П-ФРК | ХХ | Х | ХХХ | Категория размещения |
| 1 | Тип устройства | П-ФРК = фильтр-регулятор |
| 2 | Условный проход |
10 = 10 мм 16 = 16 мм |
| 3 | Вид присоединительной резьбы |
1 - коническая дюймовая резьба по ГОСТ 6111-52; 2 - трубная резьба по ГОСТ 6357-81 |
| 4 | Климатическое исполнение | ГОСТ 15150 (УХЛ, О) |
Технические характеристики П-ФРК, бренда «ПНЕВМОАППАРАТ»
| Параметры | Типоразмеры | |||
| П-ФРК-10-1 | П-ФРК-10-2 | П-ФРК-16-1 | П-ФРК-16-2 | |
| Номинальное давление, МПа | 1,0 | |||
| Минимальное давление на входе, МПа | 0,1 | |||
|
Расход воздуха при давлении на выходе 0,4МПа, м3/мин: номин., не менее / миним., не более |
0,63 / 0,16 | 0,63 / 0,16 | 1,6 / 0,16 | 1,6 / 0,16 |
|
Абсолютная тонкость фильтрации, мкм |
40 | |||
|
Степень влагоотделения, %, не менее |
90 | |||
|
Диапазон насройки давления, МПа |
0,05 - 0,65 | 0,05 - 0,90 | 0,05 - 0,62 | 0,05 - 0,90 |
|
Изменение редуцированного давления на выходе при изменении расхода, МПа, не более |
0,04 | 0,04 | 0,05 | 0,05 |
|
Изменение редуцированного давления на выходе при изменении давления на входе, МПа, не более |
0,035 | |||
|
Превышение давления на выходе клапана над давлением настройки, при котором открывается клапан сброса воздуха в атмосферу, МПа, не более |
0,06 | |||
|
Полезная вместимость резервуара для сбора конденсата, см3, не менее |
100 | |||
| Отвод конденсата |
Полуавтоматический с возможностью ручного |
|||
| Масса, кг, не более | 1,4 | |||
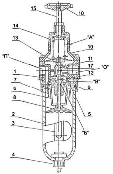
Устройство и принцип работы П-ФРК, бренда «ПНЕВМОАППАРАТ»
Блок подготовки воздуха состоит из фильтра-влагоотделителя центробежного действия, выполненного в корпусе 1 с пневмоклапаном редукционным. К корпусу крепится резервуар для конденсата 2. Фильтр-влагоотделитель имеет металлический резервуар с прозрачным глазком 3, который позволяет следить за количеством конденсата. В нижней части резервуара расположен конденсатоотводчик 4 со штуцером для подсоединения дренажной трубки. К корпусу крепится крыльчатка 5, фильтрующий элемент 6, дефлектор 7 и заслонка 8. С целью обеспечения герметичности установлено резиновое кольцо 9.
Пневмоклапан редукционный состоит из общего корпуса 1. В корпусе 1 и стакане 10 размещены дроссельный клапан 11 с пружиной 12, мембранный узел 13 с клапаном сброса, воздействующая на мембранный узел нагрузочная пружина 14 с нагрузочным винтом 15 и ручкой 16. Подмембранная полость и выходное отверстие «О» сообщены между собой с помощью трубки 17.
Сжатый воздух, подведенный к отверстию «П» в корпусе, попадает в крыльчатку 5 и получает нисходящее вращательное движение. Капли воды и масла, а также крупные твердые частицы, находящиеся в сжатом воздухе, под действием центробежных сил отбрасываются на стенки и опускаются вниз в спокойную зону, отделенную заслонкой 8. Очищенный от жидкой влаги воздух проходит через металлокерамический фильтрующий элемент 6, очищается от твердых загрязнений и поступает в зону «В».
Удаление воды и других загрязнений из фильтра-влагоотделителя происходит при открывании полуавтоматического конденсатоотводчика 4 при отсутствии давления в резервуаре 2. Во время работы, когда резервуар находится под давлением, упругий элемент деформируется и перекрывает дренажное отверстие. Конденсатоотводчик возможно открыть вручную перемещением дренажной трубки со штуцером 11 снизу вверх. В блоке подготовки воздуха дополнительно установлен дефлектор 7, препятствующий попаданию на поверхность фильтрующего элемента загрязнений, удаленных из потока под действием центробежных сил.
Принцип действия пневмоклапана редукционного в блоке подготовки воздуха основан на изменении проходного сечения дроссельного клапана при изменении давления и расхода на входе (отверстие «П») и служит для поддержания таким образом постоянного давления на выходе (отверстие «О»). При понижении выходного давления по сравнению с давлением настройки мембрана под действием нагрузочной пружины прогибается и отжимает дроссельный клапан, увеличивая проход для воздуха и тем самым расход его и давление, а при повышении выходного давления дроссельный клапан прикрывается.
Дроссельный клапан выполнен разгруженным от действия давления на входе. Подклапанная полость «Б» изолирована от входного отверстия и соединена через сверление в дроссельном клапане с выходной полостью. Сбалансированный дроссельный клапан обеспечивает большую точность поддержания давления на выходе. При повышении давления на выходе выше давления настройки мембранный узел перемещается вверх, и дроссельный клапан закрывается. В результате сжатый воздух (избыточное давление) через сверление в клапане сброса и через отверстие «А» в стакане пневмоклапана сбрасывается в атмосферу, давление на выходе блока подготовки воздуха снижается до величины, определяемой настройкой нагрузочной пружины.
Блоки подготовки воздуха обеспечивают сброс конденсата при снятии давления и закрываются при повышении давления в его резервуаре выше минимального. Эти блоки сбрасывают конденсат при перемещении дренажной трубки со штуцером снизу вверх. Настроечное устройство блока подготовки воздуха (пневмоклапана редукционного) обеспечивает плавное изменение давления на выходе в пределах всего диапазона настройки.
Габаритные и присоединительные характеристики П-ФРК, бренда «ПНЕВМОАППАРАТ»

| Обозначение | D |
| П-ФРК-10-1 | К3/8" ГОСТ 6111-52 |
| П-ФРК-10-2 | G3/8-А ГОСТ 6357-81 |
| П-ФРК-16-1 | К1/2" ГОСТ 6111-52 |
| П-ФРК-16-2 | G1/2-А ГОСТ 6357-81 |