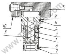
Гидроклапан МКГВ-16/3 с электроуправлением.
|
Клапаны гидроуправляемые встраиваемые МКГВ (гидроклапаны МКГВ-16/3Ф, МКГВ-25/3Ф, МКГВ-32/3Ф) предназначены для герметичного запирания потока рабочей жидкости в одном положении запорного элемента и для свободного пропускания потока рабочей жидкости в другом положении запорного элемента в соответствии с управляющим гидравлическим или электрическим сигналом. Область применения – гидроприводы станков, прессов, литейных и литьевых машин и другого гидрофицированного оборудования. Гидроуправляемые клапаны МКГВ состоят из затвора и фланца. Затвор включает в себя клапан, взаимодействующий с гильзой, размещенной в переходной втулке. Во фланце расположен управляющий каскад, определяющий положение затвора в зависимости от управляющего гидравлического или электрического сигнала и каналы подвода и отвода давления управления X, Y, Z1 и Z2 в зависимости от гидросхемы аппарата. Исполнение затвора и гидросхема фланца определяют функциональное назначение аппарата. Условия эксплуатации клапанов МКГВ:
- фильтруемая жидкость: минеральное масло с вязкостью до 200 мм²/с (200 сСт); |
||
Структура условного обозначения
| МКГВ | - | */3 Ф | - | ХХ | - | ХХ | - | Х | - | Х | - | Х | |
|
Климатическое исполнение и категория размещения по ГОСТ 15150:
УХЛ – для районов с умеренным и холодным климатом; О – для стран с тропическим климатом. |
|||||||||||||
|
|
|||||||||||||
|
Вид управляющего сигнала:
Г – постоянный ток; В – переменный ток. Управляющее напряжение: 24В, 110В |
|||||||||||||
|
|
|||||||||||||
|
Исполнения по исходному положению запорного элемента:
без индекса – нормально закрытый; 1 – нормально открытый. |
|||||||||||||
|
|
|||||||||||||
|
Исполнение по давлению открытия:
1 – 0,05 МПа (0,5 кгс/см2); 2 – 0,15 МПа (1,5 кгс/см2); 3 – 0,30 МПа (3,0 кгс/см2). Исполнения по виду регулировочного устройства ( для исполнений с ограничением хода): В – с регулировочным винтом с головкой под ключ; Р- с рукояткой; П – с защитным колпачком и возможностью опломбирования. |
|||||||||||||
|
|
|||||||||||||
|
Исполнение по соотношению надклапанной и подклапанной площадей:
1 – 1,05:1; 2 – 1,6:1; 3 – 2:1. Исполнение по конструктивно-функциональным признакам: без индекса – с дистанционным гидравлическим управлением; Э – с электрогидравлическим управлением; ЭД – с электрогидравлическим управлением с дополнительной линией управления; И – с дистанционным гидравлическим управлением с элементом ИЛИ; ЭИ – с электрогидравлическим управлением с элементом ИЛИ, управляемым от двух гидролиний; ЭИО – с электрогидравлическим управлением с элементом ИЛИ, управляемым от одной гидролинии; ГЗ – с дистанционным гидравлическим управлением с гидрозамком в линии управления; ЭГЗ – с электрогидравлическим управлением с гидрозамком в линии управления; ГЗО – с дистанционным гидравлическим управлением с гидрозамком в основной линии; К – с дистанционным гидравлическим управлением с обратным клапаном в линии управления; О – с дистанционным гидравлическим управлением с ограничением хода запорного элемента. |
|||||||||||||
|
|
|||||||||||||
|
Условный проход: 16 мм, 25 мм, 32 мм
Номинальное давление на входе: 32 МПа (320 кгс/см²) Способ монтажа: вставной (фланцевый) Исполнение по виду запорного элемента: без индекса – без дросселирующей цапфы; Ц – с дросселирующей цапфой; А – с демпфером и подводом управляющего потока с торца запорного элемента; Б – с демпфером и подводом управляющего потока сбоку запорного элемента. |
|||||||||||||
|
|
|||||||||||||
|
Типа аппарата: гидроклапан гидроуправляемый встраиваемый МКГВ
|
|||||||||||||
Номинальные значения расходов клапанов МКГВ
| Обозначение | Ду, мм | Номинальный расход, л/мин | Примечание |
|---|---|---|---|
| МКГВ16/3Ф... | 16 | 100 | Для всех исполнений МКГВ-16/3Ф, кроме перечисленных ниже |
| МКГВ16/3Ф2...ГЗО | 40 | С гидрозамком в основной линии | |
| МКГВ16/3Ф2...Ц | 80 | С дросселирующей цапфой | |
| МКГВ16/3Ф2...О | 63 | С ограничением хода запорного элемента | |
| МКГВ25/3Ф... | 25 | 160 | Для всех исполнений МКГВ-25/3Ф, кроме перечисленных ниже |
| МКГВ25/3Ф2...ГЗО | 80 | С гидрозамком в основной линии | |
| МКГВ25/3Ф2...Ц | 125 | С дросселирующей цапфой | |
| МКГВ25/3Ф2...О | 100 | С ограничением хода запорного элемента | |
| МКГВ32/3Ф... | 32 | 320 | Для всех исполнений МКГВ-32/3Ф, кроме перечисленных ниже |
| МКГВ32/3Ф2...ГЗО | 160 | С гидрозамком в основной линии | |
| МКГВ32/3Ф2...Ц | 320 | С дросселирующей цапфой | |
| МКГВ32/3Ф2...О | 250 | С ограничением хода запорного элемента |
Описание устройства гидроклапана МКГВ
![]() Гидроклапаны состоят из комплекта затвора и фланца. В комплект затвора входят: гильза 1, клапан 2, пружина 3 и переходная втулка 4. Комплект затвора вставляется в монтажное отверстие гидроблока и прижимается фланцем 5. Для уплотнения клапанов в монтажных отверстиях гидроблоков в гильзе имеются резиновые 6, 8 и защитные из термоэластопласта 7, 9 кольца. Для уплотнения каналов управления на торцовой поверхности фланца 5 имеются резиновые кольца 10. |
![]() а) с соотношением надклапанной и подклапанной площадей 1,05:1; б) с демпфером и подводом управляющего потока с торца запорного элемента (соотношение надклапанной и подклапанной площадей 1,05:1); в) с соотношением надклапанной и подклапанной площадей 1,6:1; г) с демпфером и подводом управляющего потока сбоку запорного элемента (соотношение надклапанной и подклапанной площадей 1,6:1); д) с дросселирующей цапфой (соотношение надклапанной и подклапанной площадей 1,6:1); е) с демпфером и подводом управляющего потока с торца запорного элемента (соотношение надклапанной и подклапанной площадей 1,6:1); ж) с дросселирующим хвостовиком с треугольными пазами (соотношение надклапанной и подклапанной площадей 1,6:1). |
![]() Во фланцах исполнений гидроуправляемых клапанов с элементом "или" в расточку, закрываемую пробкой 1, уплотнённой резиновым 2 и защитным из термоэластопласта 3 кольцами, установлены седла 4 и 5 с уплотнениями в виде резиновых 6 и защитных из термоэластопласта 7 колец. Между седлами находится шарик 8, который потоком, поступающим со стороны одного из седел, прижимается к противоположному. |
![]() Во фланцах исполнений гидроуправляемых клапанов с гидрозамком в линии управления находится элемент, конструктивно аналогичный элементу "или", но канал во фланце сквозной, закрывающийся с обоих концов пробками 1 и 2, а между пробками и седлами 3 и 4 находятся толкатели 5 и 6, взаимодействующие с шариком 7 через отверстие в седлах, причем толкатель 5 нагружен пружиной 8. |
![]() Во фланцах исполнений гидроуправляемых клапанов с обратным клапаном в линии управления установлено седло 1, аналогичное седлам элемента "или", к которому пружиной 2, опирающейся на пробку 3, прижимается клапан в виде шарика 4. |
![]() В исполнениях гидроуправляемых клапанов с ограничением хода запорного элемента во фланец 1 ввернут регулировочный винт 2, уплотнённый во фланце резиновым 3 и защитным из термоэластопласта 4 кольцами. Регулировочный винт, проходящий через переходную втулку 5, ограничивает ход клапана 6 при открытии. На винте имеется контргайка 7. |
![]() Регулировочные винты исполнений гидроуправляемых клапанов с ограничением хода запорного элемента могут иметь головку под ключ либо рукоятку. Регулировочные винты с головкой под ключ могут закрываться колпачком. Колпачок может иметь встроенное замковое устройство. |
![]() Клапан с гидрозамком в основной линии имеет во фланце 1 поршень 2, который через шарик 3 взаимодействует с поджатым к нему пружиной 4 толкателем 5. В гильзе 6 размещен основной клапан 7 и разгрузочный клапан в виде шарика 8 в седле 9 которые прижаты к своим посадочным кромкам пружиной 10, опирающейся на шайбу 11. Посадочная кромка основного клапана образована расточкой и осевым клапаном гильзы, а вспомогательного - расточкой и осевым каналом основного клапана. Через осевой канал клапана толкатель взаимодействует с разгрузочным клапаном. Толкатель имеет направление в переходной втулке 12. |
Характеристики гидроклапанов МКГВ-16/3Ф... (в качестве примера)
| Обозначение | Давления открывания, соответств. обознач. 1 (2, 3) | Наличие (+) дросс. цапфы | Вид управления | Исполнение управляющего распределителя обеспечивает | Масса, кг |
| МКГВ-16/3Ф2.1(2, 3) | 0,05 (0,1;0,3) | - | Дистанционное гидравлическое | Закрытие основного клапана | 1,05 |
| МКГВ16/3Ф2.1(2;3).1 | - | Открытие основного клапана | |||
| МКГВ-16/3Ф2.Э.1(2;3) | - | Электрогидравлическое | Закрытие основного клапана | 2,7 | |
| МКГВ16/3Ф2.Э.1(2;3).1 | - | Открытие основного клапана | |||
| МКГВ-16/3Ф2.ЭД.1(2;3) | - | Электрогидравлическое с дополнительной линией управления | Закрытие основного клапана | 3,3 | |
| МКГВ-16/3Ф2.ЭД.1(2;3).1 | - | Открытие основного клапана | |||
| МКГВ16/3Ф2.И.1(2;3) | - | Дистанционное гидравлическое с элементом ИЛИ | - | 1,2 | |
| МКГВ-16/3Ф2.ЭИ.1(2;3) | - | Электрогидравлическое с элементом ИЛИ, управляемым от двух гидролиний | Закрытие основного клапана | 3,6 | |
| МКГВ16/3Ф2.ЭИ.1(2;3).1 | - | Открытие основного клапана | |||
| МКГВ-16/3Ф2.ЭИ.1(2;3) | - | Электрогидравлическое с элементом ИЛИ, управляемым от одной гидролинии | Закрытие основного клапана | 3,6 | |
| МКГВ16/3Ф2.ЭИ.1(2;3).1 | - | Открытие основного клапана | |||
| МКГВ-16/3Ф2.ГЗ.1(2;3) | - | Дистанционное гидравлическое с гидрозамком в линии управления | - | 1,9 | |
| МКГВ16/3Ф2.ГЗО.1 | 0,05 | - | Дистанционное гидравлическое с гидрозамком в основной линии | - | 1,8 |
| МКГВ-16/3Ф2.3Г3.1(2;3) | 0,05 (0,1;0,3) | + | Электрогидравлическое с гидрозамком в линии управления | Закрытие основного клапана | 4,1 |
| МКГВ16/3Ф2.3Г3.1(2;3).1 | + | Открытие основного клапана | |||
| МКГВ-16/3Ф2.К.1(2;3) | + | Дистанционное гидравлическое с обратным клапаном в линии управления | - | 1,5 | |
| МКГВ16/3Ф2.О.1(2;3).В | + | В-винт, Р-рукоятка, П-пломба, К-замок | |||
| МКГВ-16/3ФЦ2.1(2;3) | + | Дистанционное гидравлическое | Закрытие основного клапана | 1,05 | |
| МКГВ16/3ФЦ2.1(2;3).1 | + | Открытие основного клапана | |||
| МКГВ-16/3ФЦ2.Э.1(2;3) | + | Электрогидравлическое | Закрытие основного клапана | 2,7 | |
| МКГВ16/3ФЦ2.Э.1(2;3).1 | + | Открытие основного клапана | |||
| МКГВ-16/3ФЦ2.ЭД.1(2;3) | + | Электрогидравлическое с дополнительной линией управления | Закрытие основного клапана | 3,3 | |
| МКГВ16/3ФЦ2.ЭД.1(2;3).1 | + | Открытие основного клапана | |||
| МКГВ-16/3ФЦ2.И.1(2;3) | + | Дистанционное гидравлическое с элементом ИЛИ | - | 1,2 | |
| МКГВ16/3ФЦ2.ЭИ.1(2;3) | + | Электрогидравлическое с элементом ИЛИ, управляемым от двух гидролиний | Закрытие основного клапана | 3,6 | |
| МКГВ-16/3ФЦ2.ЭИ.1(2;3).1 | + | Открытие основного клапана | |||
| МКГВ16/3ФЦ2.ЭИ.1(2;3) | + | Электрогидравлическое с элементом ИЛИ, управляемым от одной гидролинии | Закрытие основного клапана | 3,6 | |
| МКГВ-16/3ФЦ2.ЭИ.1(2;3).1 | + | Открытие основного клапана | |||
| МКГВ16/3ФЦ2.ГЗ.1(2;3) | + | Дистанционное гидравлическое с гидрозамком в линии управления | - | 3,6 | |
| МКГВ-16/3ФЦ2.ГЗО.1 | 0,05 | - | Дистанционное гидравлическое с гидрозамком в основной линии | - | |
| МКГВ16/3ФЦ2.ЭГ3.1(2;3) | 0,05 (0,1;0,3) | + | Электрогидравлическое с гидрозамком в линии управления | Закрытие основного клапана | 4,1 |
| МКГВ16/3ФЦ2.ЭГ3.1(2;3).1 | + | Открытие основного клапана | |||
| МКГВ-16/3Ф2.1(2;3) | - | Дистанционное гидравлическое | Закрытие основного клапана | 1,05 | |
| МКГВ16/3ФЦ2.ЭГ3.1(2;3).1 | - | Открытие основного клапана | |||
| МКГВ-16/3Ф2.Э.1(2;3) | - | Электрогидравлическое | Закрытие основного клапана | 2,7 | |
| МКГВ16/3ФЦ2.Э.1(2;3).1 | - | Открытие основного клапана | |||
| МКГВ16/3Ф2.ЭД.1(2;3) | - | Электрогидравлическое с дополнительной линией управления | Закрытие основного клапана | 3,3 | |
| МКГВ16/3ФЦ2.ЭД.1(2;3).1 | - | Открытие основного клапана | |||
| МКГВ16/3Ф2.И.1(2;3) | - | Дистанционное гидравлическое с элементом ИЛИ | - | 1,2 | |
| МКГВ-16/3Ф2.ЭИ.1(2;3) | - | Электрогидравлическое с элементом ИЛИ, управляемым от двух гидролиний | Закрытие основного клапана | 3,6 | |
| МКГВ16/3ФЦ2.ЭИ.1(2;3).1 | - | Открытие основного клапана | |||
| МКГВ16/3Ф2.ЭИ.1(2;3) | - | Электрогидравлическое с элементом ИЛИ, управляемым от одной гидролинии | Закрытие основного клапана | 3,6 | |
| МКГВ16/3ФЦ2.ЭИ.1(2;3).1 | - | Открытие основного клапана | |||
| МКГВ-16/3Ф2.ГЗ.1(2;3) | - | Дистанционное гидравлическое с гидрозамком в линии управления | - | 1,9 | |
| МКГВ16/3Ф2.ГЗ.1(2;3) | 0,05 | - | Дистанционное гидравлическое с гидрозамком в линии управления | - | 1,8 |
| МКГВ16/3Ф2.ЭГЗ.1(2;3) | 0,05 (0,1;0,3) | - | Электрогидравлическое с гидрозамком в линии управления | Закрытие основного клапана | 4,1 |
| МКГВ16/3ФЦ2.ЭГЗ.1(2;3).1 | - | Открытие основного клапана | |||
| МКГВ-16/3Ф2.К1(2;3) | - | Дистанционное гидравлическое с обратным клапаном в линии управления | 1,5 | ||
| МКГВ16/3ФЦ2.О.1(2;3).В | - | Дистанционное гидравлическое с ограничением хода запорного элемента | В-винт, Р-рукоятка, П-пломба, К-замок |

Гидроклапан МКГВ-16/3 с электроуправлением.







