Описание блоков кондиционирования сжатого воздуха БК-А
Блоки подготовки воздуха рассчитаны для работы на сжатом воздухе давлением от 0.1МПа до 1.0МПа, очищенном не грубее 12 класса по ГОСТ 17433. Климатическое исполнение УХЛ и О, категория размещения 4 по ГОСТ 15150.
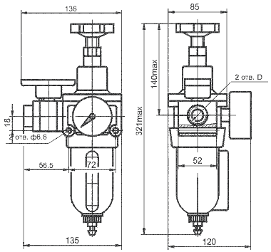
Блоки кондиционирования воздуха БК-А-10..., БК-А-16... должны устанавливаться в местах, удобных для осмотра, обслуживания и контроля параметров в вертикальном положении (отклонение от вертикали не более 5 градусов), непосредственно на трубопроводе или с использованием крепежных отверстий. При монтаже, стрелка на их корпусе должна совпадать с направлением движения воздушного потока.
Характеристики блоков (пневмоблоков кондиционирования) подготовки воздуха БК-А-10-1, БК-А-10-2, БК-А-16-1, БК-А-16-2, БКА10-1, БКА10-2, БКА16-1, БКА16-2
|
Параметры |
Типоразмеры |
|||
|
БК-А-10-1 |
БК-А-10-2 |
БК-А-16-1 |
БК-А-16-2 |
|
|
Условный проход, мм |
10 |
16 |
||
|
Номинальное давление, МПа |
1,0 |
|||
|
Минимальное давление (на входе), МПа |
0,1 |
|||
|
Расход воздуха при давлении на выходе 0.4МПа, м3/мин: |
|
|
||
|
Абсолютная тонкость фильтрации, мкм |
40 |
|||
|
Степень влагоотделения, %, не менее |
90 |
|||
|
Диапазон настройки давления, МПа |
0,05-0,90 |
|||
|
Изменение редуцированного давления на выходе при изменении расхода, МПа, на более |
0,04 |
0,05 |
||
|
Изменение редуцированного давления на выходе при изменении давления на входе, МПа, не более |
0,035 |
|||
|
Превышение давления на выходе клапана над давлением настройки, при котором открывается клапан сброса воздуха в атмосферу, МПа, не более |
0,06 |
|||
|
Полезная вместимость резервуара для сбора конденсата, см3, не менее |
100 |
|||
|
Отвод конденсата |
полуавтоматический с возможностью ручного |
|||
|
Подача масла, капли/мин: |
|
|||
|
Полезная вместимость резервуара для масла, см , не менее |
200 |
|||
|
Масса, кг, не более |
2,7 |
|||
|
1 |
- |
2 |
- |
3 |
4 |
5 |
|
БК-А |
ХХ |
X |
XXX |
ТУ 4151-006-00221287-98 |
| 1 | Условное обозначение изделия | БК-А |
| 2 | Условный проход, мм |
10 16 |
| 3 | Вид присоединительной резьбы |
1 - коническая дюймовая резьба по ГОСТ 6111-52 2 - трубная резьба по ГОСТ 6357-81 |
| 4 | Климатическое исполнение ГОСТ 15150 | УХЛ, О |
| 5 | Категория размещения | ТУ 4151-006-00221287-98 |
Размеры блоков кондиционирования БК-А-10.., БК-А-16
|
Обозначение |
D |
|
БК-А-10-1 |
К3/8" ГОСТ 6111-52 |
|
БК-А-10-2 |
G3/8-А ГОСТ 6357-81 |
|
БК-А-16-1 |
К1/2" ГОСТ 6111-52 |
|
БК-А-16-2 |
G1/2-А ГОСТ 6357-81 |
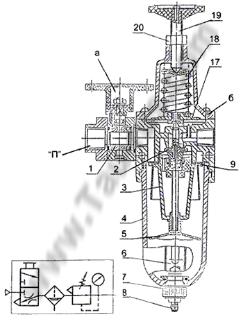
Блок кондиционирования типа БК-А содержит пневмораспределитель 3/2 крановый, шаровой, блок подготовки воздуха П-ФРК.
Из пневмосети сжатый воздух поступает во входное отверстие «П» пневмораспределителя кранового трехлинейного (a). При открытом положении клапана 1 сжатый воздух поступает во входное отверстие блока подготовки воздуха (b), представляющего собой комбинированный аппарат фильтр-регулятора (П-ФРК по ТУ 4151-005.00221287-97).
Проходя через щели крыльчатки 9, сжатый воздух получает нисходящее вращательное движение, в результате чего происходит отделение капельной влаги и механических примесей, которые отбрасываются к стенкам стакана 4 и опускаются вниз в спокойную зону, отделенную заслонкой 5. Очищенный от жидкой влаги воздух проходит через металлокерамический фильтр 3, очищается от твердых загрязнений и поступает во входную полость редукционного клапана, предназначенного для настройки давления на выходе и автоматического поддержания его на заданном уровне.
Для настройки служит винт с маховичком 19 при вращении которого изменяется сила пружины 18, воздействующая на мембрану 17 и через нее на дросселирующий клапан 2, проходное сечение которого непостоянно и зависит от внешних воздействий. Степень открытия дросселирующего клапана определяет уровень давления сжатого воздуха на входе блока кондиционирования.
В нижней части стакана 4 блока подготовки воздуха расположено устройство 7 для удаления накопившейся капельной влаги и механических примесей, открываемое пружиной при давлении в стакане менее 0,1 МПа, либо вручную при давлении в стакане от 0,1 МПа до 1,0 МПа путем нажатия снизу вверх на штуцер 8. В металлическом стакане 4 имеется глазок 6, позволяющий следить за уровнем накопившихся загрязнений.
Блоки кондиционирования функционируют в вертикальном положении, резервуарами вниз. Крепление блоков кондиционирования производится к вертикальной стенке или кронштейну через отверстия диаметром 6,6 мм в корпусе фильтра регулятора. Установка манометра производится в отверстие после откручивания одной из двух пробок в корпусе фильтра-регулятора (b).
После подсоединения блоков кондиционирования к пневмосистеме необходимо при установившемся расходе, установить рабочее давление в системе винтом с маховичком 19, контролируя его по манометру.
При заказе блоков подготовки воздуха БК-А используются следующие обозначения:
блок подготовки воздуха БК-А-10-1 ТУ 4151-006-00221287-98
блок подготовки воздуха БК-А-10-2 ТУ 4151-006-00221287-98
блок подготовки воздуха БК-А-16-1 ТУ 4151-006-00221287-98
блок подготовки воздуха БК-А-16-2 ТУ 4151-006-00221287-98
