Пилотные гидрораспределители для производств
Гидрораспределители с пилотным управлением – это устройства, предназначенные для контроля направления потока рабочей жидкости в гидравлических системах. Их особенность заключается в том, что основной золотник управляется с помощью вспомогательного пилотного (управляющего) сигнала, который может создаваться гидравлическим давлением или внешними устройствами, например, электрическими, пневматическими или ручными механизмами.
Преимущества и эксплуатационные возможности
- Высокая мощность: способность управлять гидравлическими системами с большим расходом жидкости и высоким давлением.
- Минимальное усилие для переключения: гидрораспределители с электрогидравлическим управлением обеспечивают точное и надежное управление даже в условиях минимального сигнала, мощных установок, независимо от нагрузки на систему.
- Автоматизация работы гидравлических систем.
- Гибкость управления: совместимы с различными типами управляющих сигналов (гидравлическими, электрическими, пневматическими).
- Снижение усилия, необходимого для переключения основного золотника.
Области применения
Такие типы гидравлических распределителей находят применение в мощных и сложных гидравлических системах, например, в строительной технике – экскаваторы, подъёмные краны, гидравлические прессы.В промышленном оборудовании – прессы, прокатные станы, металлообрабатывающее оборудование, и транспорте – системы управления тяжелой техникой, железнодорожных установках.
А также в энергетике в качестве компонента гидроагрегатов, турбин, и другого оборудования, работающего под высоким давлением.
Запорно-регулирующий элемент
Основным элементом золотниковых гидрораспределителей является цилиндрический золотник 1, который в зависимости от количества каналов (подводов) 3 в корпусе 2 может иметь один или несколько поясков (рис. 2, а). На схемах гидрораспределители обозначаются подвижным элементом с указанием линий связи, проходов и элементов управления. Рабочие позиции отображаются квадратами (прямоугольниками), количество которых соответствует числу позиций (рис. 2, б).

Рис.2. Схема (а) и обозначение (б) гидрораспределителя
Рассмотрим принцип работы распределителя (рис.3). В первой (исходной) позиции все линии А, В , Р и Т, подходящие к распределителю разобщены, т.е. перекрыты (рис.3, а). При смещении золотника влево распределитель переходит во вторую позицию, в которой попарно соединены линии Р и А, В и Т (рис.3, б). При смещении золотника вправо - в третью, где соединяются линии Р и В, А и Т (рис.3, в). Такие распределители часто называют реверсивными, так как они используются для остановки и изменения направления движения исполнительных механизмов.
Рис.3. Схема работы золотникового гидрораспределителя
Принцип работы гидрораспределителя с пилотным управлением
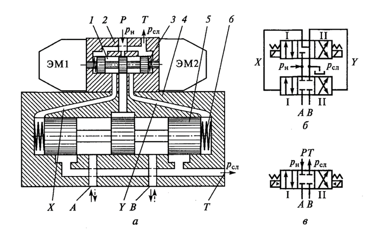
На рис. 4, а в качестве примера изображен гидрораспределитель с пилотным управлением, в состав которого входят два золотниковых гидрораспределителя:
Распределитель первой ступени, состоящий из корпуса 2, золотника 1 и двух центрирующих пружин 3, с управлением от двух электромагнитов ЭМ1 и ЭМ2;
Распределитель второй ступени, состоящий из корпуса 4, золотника 5 и двух центрирующих пружин 6, с гидравлическим управлением.
Рис.4 Гидрораспредлитель с пилотным управлением
а – конструктивная схема
б – гидравлическая схема работы полная
в – схема работы основного (большого) золотника
Гидрораспределитель имеет присоединительные отверстия Р, Т, А, В. Торцевые полости распределителя второй ступени соединены с выходными отверстиями распределителя первой ступени каналами Х и У.
При отсутствии электрического управляющего сигнала золотники обоих распределителей под действием пружин находятся в средних (нейтральных) позициях. При этом золотник 1 соединяет торцевые полости распределителя второй ступени со сливом, а золотник 5 перекрывает все проходные сечения (см. рис. 4 а, б).
При поступлении сигнала, например на электромагнит ЭМ1, золотник 1 смещается до упора вправо, т.е. распределитель первой ступени переключается в позицию 1 (см. рис. 4, 6). При этом по каналу Х поток жидкости под давлением поступает в левую торцевую полость гидрораспределителя второй ступени, а ею правая торцевая полость через канал У соединяется со сливом. На торцах золотника 5 возникает перепад давлений, под действием которого он смещается вправо, т.е. основной гидрораспределитель переключается в позицию I. При этом соединяются гидролинии Р с А и В с Т.
При поступлении управляющего сигнала на вход электромагнита ЭМ2 золотники 1 и 5 перемещаются влево, т.е. гидрораспределитель переключается в позицию II. При этом соединяются гидролинии Р с В и А с Т.
Рис. 5 Гидрораспределитель с пилотным управлением ВЕХ16

Рис. 6 Гидрораспределитель с пилотным управлением 1Р203,1Р323
При соблюдении эксплуатационных рекомендаций, устройство будет безотказно функционировать продолжительный период времени.
Компания «ТАУРУС» – ваш надежный партнер в обеспечении бесперебойного производства. Наши специалисты подберут и помогут купить гидрораспределители с электрогидравлическим управлением и необходимой гидравлической схемой, а также принадлежности для них. Доверьтесь опыту «ТАУРУС» – мы сделаем ваше производство эффективным и надежным!