Фильтр
Сначала популярные
Описание пневмораспределителей 3V1
Пневмораспределители 3V1 – трехлинейные двухпозиционные (3/2) пневматические распределители с электромагнитным управлением предназначены для управления потоком сжатого воздуха в пневматических системах.
Преимущества пневматических распределителей 3V1:
- Простая конструкция и высокая надежность
- Быстрое переключение
- Компактные размеры
- Широкая область применения
- Долговечность и минимальное обслуживание
Структура условного обозначения
| 1 | – | 2 | – | 3 | 4 |
| 3V1 | 06 | В | DC24 |
| 1 | Тип устройства |
3V1 = Трехлинейный двухпозиционный пневмораспределитель
|
| 2 | Резьба |
М5 = М5х0.8 06 = G 1/8" |
| 3 | Исполнение по креплению (монтажу) |
Без обозначения = резьбовой монтаж В = монтаж на плите |
| 4 | Напряжение |
Переменный ток: AC24V AC110V AC220V Постоянный ток: DC12V DC24V |
Технические характеристики
| Модель | 3V1-M5 | 3V1-06 |
| Тип пневмораспределителя | 3/2 - трехлинейный двухпозиционный | |
| Тип управления | Электромагнитное | |
| Рабочая среда | Воздух | |
| Резьба присоединительных отверстий | M | G |
| Размеры присоединительных отверстий (вход / выход) | M5x0.8 | 1/8" |
| Рабочее давление, МПа | 0 - 0.8 | |
| Максимальное входное давление, МПа | 1,2 | |
| Температура воздуха, °C | От +5 до +60 | |
| Рабочая температура, °C | От -10 до +60 | |
| Материал корпуса | Алюминиевый сплав | |
| Смазка воздуха | Не обязательна | |
| Максимальная частота срабатывания, циклов / сек | 5 | |
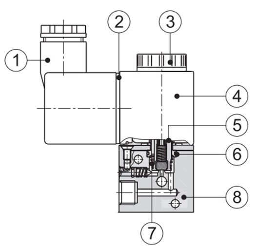
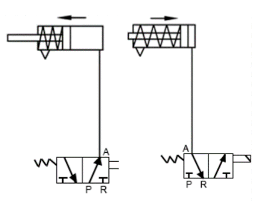
Устройство и принцип работы

При подаче электромагнитного сигнала на катушку 4 через разъем 1, пневмораспределитель работает по схеме 2. Из полости цилиндра через канал А воздух выходит в канал R. Канал Р перекрыт. Шток цилиндра задвигается.
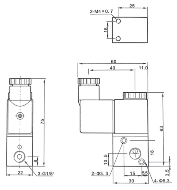
Габаритные и присоединительные размеры
