Индикаторы давления ИД-1, ИД-1Т (далее для краткости – индикаторы) предназначены для дистанционного контроля избыточного давления жидкостей в системах топливоподачи, смазки и охлаждения двигателей внутреннего сгорания, а также могут быть использованы в других системах, где требуется дистанционный контроль избыточного давления неагрессивных жидкостей и газов и где условия эксплуатации соответствуют указанным в настоящем описании продукции.
Индикаторы состоят из приемника давления ПД-1 (далее для краткости – приемник) и указателя давления УД-800/1 или УД-801/1, УДМ (далее для краткости – указатель). Индикаторы предназначены для эксплуатации при температурах окружающего воздуха от -60 до +75 °С – для приемников и от -60 до +60 °С – для указателей и относительной влажности до 95% при температуре 35 °С. Перейти к просмотру инструкции по эксплуатации ИД-1Т, ИД-1.

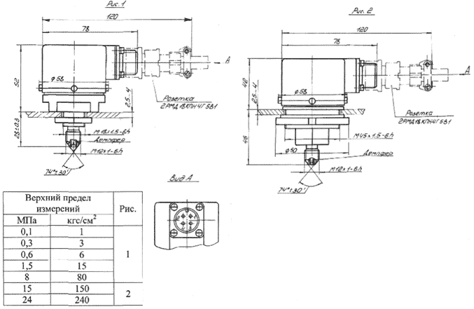
Верхние пределы измерений и рабочие диапазоны измерений индикаторов
|
Условное обозначение |
Верхний предел измерений |
Рабочий диапазон измерений |
||
|---|---|---|---|---|
|
МПа |
кгс/см² |
МПа |
кгс/см² |
|
|
Индикатор давления ИД-1-0,1, |
0,1 |
1 |
0,02–0,06 |
0,2–0,6 |
|
Индикатор давления ИД-1-0,3, |
0,3 |
3 |
0,06–0,24 |
0,6–2,4 |
|
Индикатор давления ИД-1-0,6, |
0,6 |
6 |
0,1–0,5 |
1–5 |
|
Индикатор давления ИД-1-1,5, |
1,5 |
15 |
0,2–1,2 |
2– 2 |
|
Индикатор давления ИД-1-2,4, |
2,4 |
24 |
0,4–2 |
4–20 |
|
Индикатор давления ИД-1-8, |
8 |
80 |
1–5 |
10–50 |
|
Индикатор давления ИД-1-15, |
15 |
150 |
2–12 |
20–120 |
|
Индикатор давления ИД-1-24, |
24 |
240 |
4–20 |
40–200 |
Принцип работы индикатора давления ИД-1, ИД-1Т
Изменение индуктивности ведет к перераспределению токов в рамках логометра. При этом каждому положению якоря соответствует одно определенное положение стрелки. В приборе используется магнитоэлектрический логометр. Для выпрямления тока в схему введены два выпрямителя.
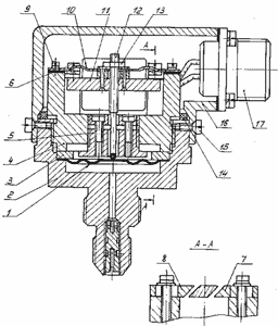
Конструкция приёмников давления ПД-1, ПД-1Т


Чувствительный элемент приемника на давление до 8 МПа – мембрана 1 закреплена в корпусе 2 посредством кольца 3 и крышки 4. Для предохранения мембран от разрушения при перегрузках давлением применен упор 5. К крышке 4 с помощью винтов 6 крепятся нижний и верхний сердечники 7 и 8 с катушками, а при помощи винтов 9 – возвратная пружина 10. На возвратной пружине жестко закреплен якорь 11, в который ввернут шток 12, служащий для связи якоря с мембраной, а также для регулировки. После регулировки шток контрится гайкой 13. Сверху приемник через уплотнительную прокладку 14 винтами 15 закрывается кожухом 16, на котором расположена вилка 17 соединителя.
Конструкция приемника на давления 15, 24 МПа (150, 240 кгс/см2) отличается только узлом чувствительного элемента (см. рис. 2). В корпус 1 ввернута мембранная коробка 2, которая при перегрузке ложится на регулируемый упор 3; в остальном конструкция идентична вышеописанной.
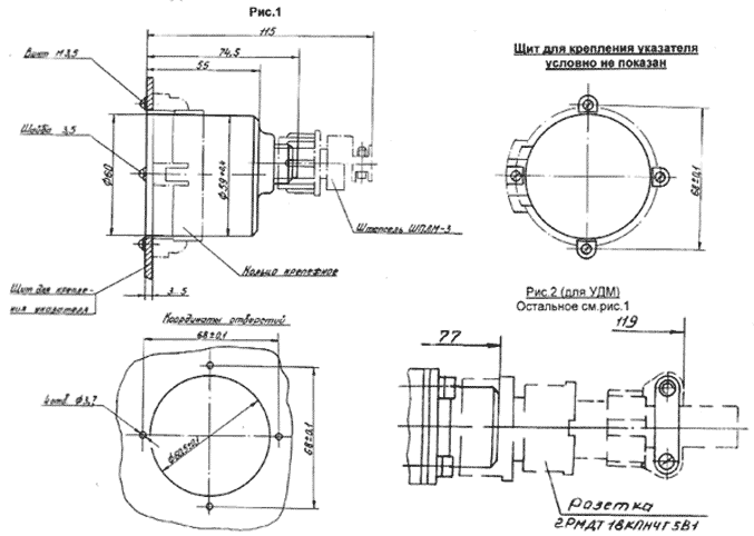
Конструкция указателя давления типа УД-800/1 (УД-801/1), УДМ


Габаритные и присоединительные размеры индикатора ИД1, ИД1Т


