Гидроцилиндры
Гидроцилиндр – это исполнительное гидравлическое устройство, преобразующее энергию жидкости в механическое поступательное движение и силу.
Области применения
Гидравлические цилиндры широко применяются в гидравлических подъемниках, промышленности, например, в станках и прессах. А также в строительстве – экскаваторах, бульдозерах, кранах, сельском хозяйстве и других сферах.
Ключевые элементы конструкций и принцип работы гидроцилиндра
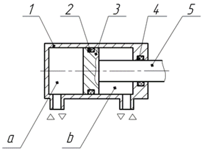
Рис.1 Схема гидроцилиндра
Устройство гидроцилиндра отличается простотой, как и само управление гидроцилиндром. Его схема изображена на рис. 1. Корпус (1) гидравлического цилиндра изготавливают из стальной трубы с обработанными поверхностями.
Внутри корпуса расположен стальной поршень (3) со штоком (5). Рабочая камера гидроцилиндра делится на две части: поршневую (a) и штоковую (b).
Соединения в устройстве герметизируются полимерными или резиновыми кольцами (2, 4). Это нужно, чтобы предотвратить утечки рабочей среды, ее перемещение между полостями рабочей камеры.
Принцип работы гидроцилиндра основан на преобразовании энергии жидкости в механическую, под воздействием которой перемещается поршень. Когда жидкость подается в поршневую полость, поршень под ее давлением выдвигается наружу. Это называется прямым ходом. Если рабочая среда подается в штоковую полость, поршень втягивается назад. Это обратный ход.
Виды гидроцилиндров

Рис.2 Виды гидроцилиндров
По способу подачи рабочей жидкости
Жидкость в гидравлические цилиндры подается через шток (рис. 2, д) или гильзу (рис. 2, а). Штоковые гидроцилиндры бывают с односторонними (рис. 2, а) и двусторонними (рис. 2, в) штоками. В первых поршень соединен с одним штоком, во вторых — с двумя. Двусторонние штоки также называют проходными.
По строению рабочей камеры
- Поршневые – имеют поршень, разделяющий полости высокого и низкого давления.
- Плунжерные – без поршня, с движущимся плунжером (штоком), работают только в одном направлении.
- Телескопические – состоят из нескольких выдвижных секций, позволяют достигать большой длины хода при компактных размерах.
- Кремальерные (реечные) – преобразуют движение поршня в вращательное движение через зубчатую рейку.
По типу действия
- Одностороннего действия – рабочий ход происходит за счёт давления жидкости, а возврат – за счёт пружины или внешнего воздействия.
- Двустороннего действия – движение штока в обоих направлениях осуществляется под действием давления жидкости.
По условиям применения
Производители изготавливают гидроцилиндры для холодного, умеренного, тропического климата, влажного и сухого. Различаются изделия и по задачам, которые они решают:
- запуск рычагов, циклические повторения рабочих действий;
- перемещение рабочих элементов, совершение полезных действий во время движения;
- фиксация рабочих элементов в определенном положении, установка опор для устойчивого положения спецтехники.
По способу крепления
- Фланцы
- Проушины
- Лапы
- Цапфы
- С помощью сварки
Компания «ТАУРУС» – ваш надежный партнер в обеспечении бесперебойного производства.
Наши специалисты подберут и помогут купить гидроцилиндры под ваши задачи и гидросистему. Доверьтесь опыту «ТАУРУС» – мы сделаем ваше производство эффективным и надежным!
