Делители потока
Гидравлический делитель потока — это специализированное устройство, которое равномерно или пропорционально распределяет поток рабочей жидкости между несколькими гидравлическими линиями. Основная задача делителя — обеспечить синхронную работу гидроцилиндров, гидромоторов или отдельных контуров гидравлической системы.
Рис.1 Условное обозначение делителя потока
Кроме функции разделения потока, такие устройства способны объединять потоки при обратном движении жидкости, что делает их универсальными и эффективными в различных гидравлических системах.
Эксплуатационные возможности и преимущества
- Синхронизация работы нескольких гидроцилиндров.
- Равномерное распределение нагрузки между гидромоторами, даже в условиях высокого рабочего давления.
- Управление потоками с высокой точностью в сложных гидравлических контурах.
- Универсальность: делители могут как разделять, так и объединять потоки.
Области применения
Сельскохозяйственная техника (комбайны, тракторы) и дорожно-строительная техника (экскаваторы, катки).
Подъемно-транспортные механизмы (краны, автопогрузчики) и системы рулевого управления техники. Буровые установки.
Ключевые элементы конструкций и принцип работы делителя потока
- Корпус с входным и выходными патрубками.
- Дросселирующие отверстия или каналы.
- Подвижный золотник или другой регулирующий элемент.
- Пружины или другие возвращающие механизмы.
Принцип функционирования делителей потока базируется на использовании разности давлений в выходных каналах. Когда возникает перепад давлений, подвижный золотник смещается в сторону области с меньшим давлением, регулируя площади проходных сечений каналов для выравнивания расхода жидкости.
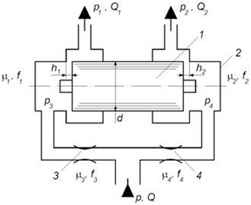
Конструкция делителя потока, предназначенного для разделения потока на две части, представлена на рис. 2. Устройство включает в себя золотник 1, который перемещается внутри втулки 2, формируя с ней два регулируемых дросселя с рабочими зазорами h1 и h2, а также два фиксированных дросселя 3 и 4 с проходными сечениями f3 и f4. Подаваемый поток рабочей жидкости проходит через постоянные дроссели с расходами Q1 и Q2 и поступает в торцевые камеры золотника, где создаются давления p3 и p4.
Рис 2. Чертеж конструкции делителя потока
Рис.3 Делитель расхода МКД
Компания «ТАУРУС» – ваш надежный партнер в обеспечении бесперебойного производства. Наши специалисты подберут и помогут купить делитель потока гидравлический. Доверьтесь опыту «ТАУРУС» – мы сделаем ваше производство эффективным и надежным!
