Описание входных клапанов П-МК
Входные клапаны П-МК08.10, П-МК08.16, П-МК08.20, П-МК08.25, П-МК08.06 предназначены для отключения пневматической системы от питающей магистрали и выпуска сжатого воздуха из пневмосистемы. Применяется для комплектации блоков кондиционирования сжатого воздуха.
Основные параметры входных клапанов П-МК08
|
Наименование параметров |
П-МК08.06 |
П-МК08.10 |
П-МК08.16 |
П-МК08.20 |
П-МК08.25 |
|
Условный проход, мм |
6 |
10 |
16 |
20 |
25 |
|
Присоединительная резьба |
K 1/4" |
K 3/8" |
K 1/2" |
K 3/4" |
K 1" |
|
Номинальное давление, МПа |
1,0 |
||||
|
Минимальное давление, МПа |
0,16 |
||||
|
Пропускная способность, м³/ч |
0,25 |
1,7 |
2,0 |
6,3 |
8,0 |
|
Масса, кг |
0,18 |
0,45 |
0,45 |
1,4 |
1,4 |
Структура условного обозначения П-МК08
|
1 |
2 |
3 |
4 |
5 |
|
П-МК08 |
ХХ |
Х |
ХХХ |
Х |
| 1 | Условное обозначение модульного устройства типа входной клапан | П-МК08 |
| 2 | Величина условного прохода, мм |
6 10 16 20 25 |
| 3 | Вид присоединительных отверстий |
2 - трубное с конической резьбой; 4 - с конической резьбой на входе и стыковое на выходе |
| 4 | Климатическое исполнение | УХЛ |
| 5 | Категория размещения | 4 |
Габаритные и присоединительные размеры входных клапанов П-МК08
П-МК08-06
.gif)
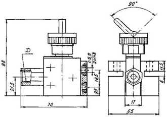
П-МК08-10, П-МК08-16
.gif)
П-МК08-20, П-МК08-25
При заказе входных клапанов П-МК08 наиболее часто используются следующие обозначения:
Клапан входной П-МК08.10.4 УХЛ4
Клапан входной П-МК08.16.4 УХЛ4
Клапан входной П-МК08.20.2 УХЛ4
Клапан входной П-МК08.25.2 УХЛ4