Описание электронасосов центробежных БХ14
Вертикальные полупогружные электронасосы БХ14-53, БХ14-54 и БХ14-55 служат для подачи СОЖ в металлорежущем, гидравлическом, смазочном оборудовании с целью охлаждения режущего инструмента, обмыва посадочных мест инструмента и детали, смыва и последующей транспортировки стружки.
Насосы БХ 14-5 относятся к группе моноблочных центробежных многоступенчатых насосов и работают на СОЖ и минеральных маслах вязкостью до 90 сСт.
Описание насосов БХ14-5:
- концентрация загрязненности рабочих жидкостей не должна превышать 15 г/л;:
- размер включений не должен быть более 0,3 мм;
- диапазон температуры рабочей жидкости: 10...50°C;.
- температура окружающей среды: 1...50°C;
- материал проточной части - чугун;.
- уплотнение вала - щелевое;
- напорный патрубок с внутренней резьбой;
- тип насоса: двухступенчатый, полупогружной, центробежный, моноблочный;
- рабочие колеса: открытого типа.
Параметры электронасоса БХ 14-5
|
Параметр |
Наименование насоса |
|||
|
Насос БХ14-53 |
Насос БХ14-53-1 |
Насос БХ14-54 |
Насос БХ14-55 |
|
|
Диаметр (присоединение) патрубка |
G1 1/4" |
G1" |
G1 1/4" |
G1 1/4" |
|
Номинальное давление (напор) на выходе, кг/см² (МПа) |
2,5 (0,25) |
2,5 (0,25) |
2,5 (0,25) |
2,5 (0,25) |
|
Номинальная подача, л/мин |
50 |
50 |
100 |
200 |
|
Мощность (при 2900 об./мин), кВт |
1,5 |
1,5 |
2,2 |
3,0 |
|
Длина погружной части, мм |
250 |
110 |
250 |
290 |
|
Габариты насоса, мм |
170х170х558 |
170х170х410 |
170х170х578 |
170х170х648 |
|
Масса, кг |
24 |
24 |
26 |
34 |
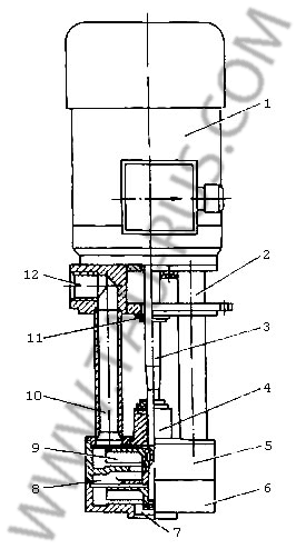
Конструкция (основные детали) насосов БХ14
Конструкция насоса БХ14
- Асинхронный электродвигатель
- Стойка насоса (для обеспечение жесткости конструкции)
- Приводной (рабочий) вал, передающий вращение от двигателя на рабочее колесо насоса
- Втулка узла уплотнения вала
- Корпус насос БХ14-5
- Крышка, с выполненным всасывающим отверстием
- Всасывающее отверстие, через которое осуществляется забор рабочей жидкости (СОЖ)
- Переводной канал (направляющий аппарат)
- Рабочее колесо
- Канал напорный
- Кольцо отражательное (фланец для установки и крепления насоса).
- Напорный патрубок, через которое осуществляется подача рабочей жидкости под давлением 0,25 МПа.
Возможные варианты маркировки насоса БХ14-5..., при заказе:
БХ14-53, БХ14-54, БХ14-55, БХ 14-53-1, БХ 14-54, БХ 14-55
