Клапаны редукционные
Гидроклапан редукционный — это устройства, предназначенные для поддержания стабильного и пониженного давления в определенной части гидравлической системы, независимо от колебаний входного давления. Они играют важную роль в защите оборудования и обеспечении его бесперебойной работы.
Области применения
- Гидросистемы прессов, станков, насосных установок.
- Гидравлические приводы мобильной техники.
- Регулирование давления в отдельных контурах сложных гидросистем.
Гидравлический редукционный клапан относится к устройствам регулирования давления. Его основная задача — поддерживать давление в определенной линии на уровне ниже, чем в основной системе. Другими словами, клапан обеспечивает постоянное давление «после себя», даже если на входе давление значительно выше.
Чаще всего такие клапаны используются для поддержания давления в линиях управления гидрораспределителями. Также они могут устанавливаться в линиях питания гидродвигателей для ограничения давления и, как следствие, уменьшения усилия, создаваемого двигателем.
Виды редукционных гидроклапанов
Прямого действия – управляются усилием пружины, простые по конструкции, но менее точные.
С пилотным управлением – обеспечивают более стабильное давление и точное регулирование, используются в сложных гидросистемах.
По типу монтажа:
Модульный
Стыковой
Трубный
Ключевые элементы конструкций и принцип работы гидроклапана редукционного
Рис.1 Гидросхемы редукционных клапанов
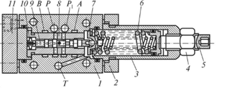
Редукционный клапан КРМ-6/3 (рис. 2) имеет детали: корпус с колпачком, контргайкой и регулировочным винтом, фланец, пружины, крышку, подпятник. Во втулке расположены золотник и демпфер.
Масло поступает в клапан через отверстие Р на нижней стыковой плоскости. Проходя через отверстия во втулке (8), частично перекрытые дросселирующей кромкой золотника (9), оно выходит через отверстие P1 на верхней стыковой плоскости. Этот процесс обеспечивает редуцирование давления.
Рис. 2 Редукционный клапан КРМ-6/3 модульного монтажа
б — конструкция;
в — характеристики:
1 — корпус;
2 — фланец;
3 — колпачок;
4 — контргайка;
5 — регулировочный винт;
6 — пружины;
7— подпятник;
8 — втулка;
9 — золотник;
10— демпфер;
11 — крышка;
Т — сливная линия
Рис. 3 Гидроклапан редукционный модульного монтажа МКРВ
Рис. 4 Гидроклапан редукционный стыкового монтажа МКРВ
Компания «ТАУРУС» – ваш надежный партнер в обеспечении бесперебойного производства. Наши специалисты подберут и помогут купить редукционный клапан гидравлический, а также принадлежности для них. Доверьтесь опыту «ТАУРУС» – мы сделаем ваше производство эффективным и надежным!
