Описание маслораспылителей П-МК
Маслораспылители П-МК-06 используются в пневматических системах при рабочем давлении 0,1...1,0 МПа. Вибропрочность и виброустойчивость модульных устройств типа П-МК 06 соответствует 2-ой степени жесткости по ГОСТ 28988-91 и техническим условиям. Смотреть паспорт П-МК 06.
В частности, маслораспылитель П-МК 06-16Х6 используются в блоке подготовки воздуха П-Б 16.31.
Таблица присоединительных размеров П-МК 06
|
Обозначение устройства |
Диаметр присоединительных отверстий |
|
Маслораспылитель П-МК 06-06 Х 5 |
G 1/4 |
|
Маслораспылитель П-МК 06-10 Х 5 |
G 3/8 |
|
Маслораспылитель П-МК 06-16 Х 5 |
G 1/2 |
|
Маслораспылитель П-МК 06-25 Х 5 |
G 1 |
Маслораспылители П-МК-06 с метрической резьбой, поставляются по специальному заказу.
Структура условного обозначения маслораспылителей П-МК06
|
1 |
- |
2 |
3 |
4 |
5 |
|
П-МК06 |
ХХ |
Х |
Х |
Х 4 |
| 1 | Условное обозначение модульного устройства типа маслораспылитель | П-МК06 |
| 2 | Величина условного прохода,мм |
6 10 16 25 |
| 3 | Функция очистки воздуха | Х - не выполняет |
| 4 | Вид присоединительных отверстий |
5 - трубная цилиндрическая резьба с удалением конденсата с помощью ручного конденсатоотводчика; 6 - коническая резьба с удалением конденсата с помощью ручного конденсатоотводчика; 9 - гладкое отверстие без удаления конденсата; |
| 5 | Климатическое исполнение ГОСТ 15150 | УХЛ, О |
Основные технические параметры маслораспылителя П-МК 06
|
Наименование параметров |
Исполнения по условному проходу |
|||
|
П-МК06-06 |
П-МК06-10 |
П-МК06-16 |
П-МК06-25 |
|
|
Диаметр условного прохода |
6 |
10 |
16 |
25 |
|
Номинальное давление, МПа |
1,0 |
|||
|
Макс./мин. расход воздуха (при давлении на выходе 0,63 МПа), м3/мин |
0,25 / 0,05 |
1,25 / 0,08 |
2,0 / 0,08 |
5,0 / 0,1 |
|
Вместимость ёмкости для масла, см³ |
40 |
200 |
200 |
400 |
|
Макс./мин. подача смазочного материала, капель/мин |
10 / 0,25 |
20 / 0,5 |
20 / 0,5 |
50 / 2,0 |
|
Масса не более, кг |
0,28 |
1,0 |
1,0 |
2,0 |
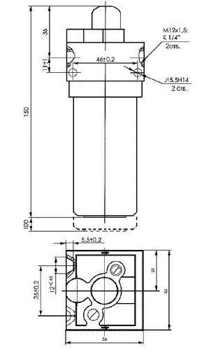
Габаритные и присоединительные размеры
Чертёж П-МК 06-06Х

Чертёж П-МК 06-10Х, П-МК 06-16Х, П-МК 06-25Х
Посмотреть таблицу габаритных и присоединительных размеров модульных устройств П-МК
При заказе маслораспылителей П-МК06 наиболее часто используются следующие обозначения:
Маслораспылитель П-МК06.10Х6, П-МК 06-10Х5
Маслораспылитель П-МК06.16Х5, П-МК 06-16Х6
Маслораспылитель П-МК 06 25Х6, П-МК-06.25Х5
