Описание клапанов обратных КОВ
.jpg)
Клапаны обратные КОВ 10-00, КОВ 20-00, КОВ 32-00 с условными проходами 10, 20, 32 мм, соответственно, предназначены для свободного пропуска потока масла в одном направлении и перекрытия потока в обратном направлении.
Обозначение на гидравлических схемах:
.gif)
Р - отверстие для входа рабочей жидкости под давлением;
А - отверстие для присоединения к другим устройствам.
.gif)
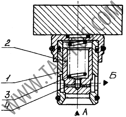
Устройство:
Обратный клапан КОВ20-000 состоит из патрона 1, в котором установлен клапан 2, разделяющий каналы А и Б. Клапан прижат к патрону пружиной 3. Уплотнение наружной поверхности патрона осуществляется резиновыми кольцами.
Обратный клапан работает следующим образом:
Масло, подводимое под давлением в канал А, приподнимает клапан и проходит через отверстия в патроне (канал Б). При изменении направления потока масло через канал Б поступает через отверстия 4 клапана в надклапанную полость и прижимает клапан к фаске патрона, закрывая проход масла в канал А.
Пример применения обратного клапана КОВ:
Клапан КОВ-20 обеспечивает герметичность полости главного цилиндра при выдержке изделия под давлением.
Основные характеристики гидроклапанов КОВ
|
Обозначение |
Условный проход, мм |
Давление на выходе ном. / макс. / мин., МПа |
Расход рабочей жидкости ном. / макс., л/мин |
Внутренняя герметичность (внутренние утечки) |
Масса (без рабочей жидкости), кг |
|
Клапан КОВ10.00 |
10 |
32 / 35 / 0,05 |
63 / 100 |
не допускаются |
0,73 |
|
Клапан КОВ20.00 |
20 |
160 / 250 |
1,15 |
||
|
Клапан КОВ32.00 |
32 |
320 / 500 |
2,0 |
Структура условного обозначения клапана обратного КОВ
|
1 |
- |
2 |
3 |
4 |
5 |
|
КОВ
|
10 |
00 |
УХЛ |
4 |
| 1 | Типа аппарата |
КОВ - гидроклапан обратный встраиваемый |
| 2 | Исполнение по условному проходу |
10 –10 мм 20 –20 мм 32 –32 мм |
| 3 | Исполнение по давлению открытия | 00 – 0,05 МПа |
| 4 | Климатическое исполнение |
УХЛ - для районов с умеренным и холодным климатом; О - общеклиматическое |
| 5 | Категория размещения |
2 - для общеклиматического исполнения 4 - для районов с умеренным и холодным климатом. |
Габаритные и присоединительные размеры гидроклапанов КОВ
|
Шифр клапана |
a |
d |
m |
m1 |
De |
de |
H |
h |
Dl |
l |
|
Клапан КОВ-10.00 |
65 |
55 |
45 |
35 |
34 |
25 |
76 |
51 |
М10 |
11 |
|
Клапан КОВ-20.00 |
75 |
65 |
50 |
40 |
44 |
34 |
84 |
59 |
М12 |
13 |
|
Клапан КОВ-32.00 |
86 |
76 |
58 |
48 |
54 |
44 |
102 |
72 |
М14 |
15 |
Пример условного обозначения клапана обратного встраиваемого с условным проходом 32 мм:
Клапан КОВ32 УХЛ4