|
Клапаны гидроуправляемые КГВ 10, КГВ 20, КГВ 32 с условными проходами 10 мм, 20 мм и 32 мм, соответственно, предназначены для пуска и остановки потоков рабочей жидкости в гидравлических системах. Клапаны КГВ работают на минеральных маслах, очищенных не ниже 13-го класса чистоты по ГОСТ 17216-71, вязкостью от 10 мм²/с до 320 мм²/с и температурой от 0 до 70 °C, при температуре окружающей среды от 1 до 45 °C. Рекомендуемые марки масел ВНИИ НП-403 ГОСТ 16728-78 и ТП ГОСТ 9972-74.
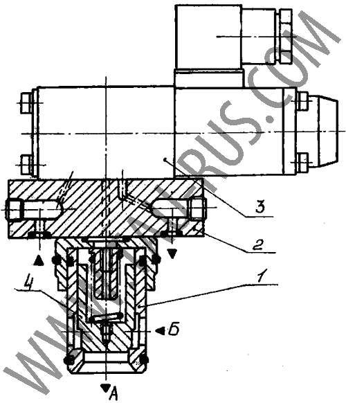
Устройство:
Клапаны гидроуправляемые КГВ20.00.001 состоят из комплекта затвора 1, фланца 2 и гидрораспределителя 3. В патроне комплекта затвора установлен клапан 4, разделяющий каналы А и Б.
Гидроуправляемый клапан работает следующим образом:
При подводе масла в канал Б, клапан 4 прижимается к фаске патрона, закрывая проход масла в канала А. При включении электромагнитна надклапанная полость соединяется со сливом, клапан 4 поднимается, соединяя канал Б с каналом А.
Пример применения клапана КГВ:
Клапан КГВ20 служит для пропуска масла в аккумулятор - зарядка аккумулятора, а также для разрядки аккумулятора.
|
Основные характеристики гидроклапанов КГВ
| Обозначение | Клапан КГВ10 | Клапан КГВ20 | Клапан КГВ32 |
| Условный проход, мм | 10 | 20 | 32 |
| Давление на входе в присоединения А, Б номинальное / максимальное, МПа | 32 / 35 | ||
| Давление на входе при прохождении потока от А к Б минимальное для исполнений КГВ...2, КГВ...3 / КГВ...1, КГВ...4, КГВ...5, МПа | 0,1 / 0,15 | ||
| Давление на входе при прохождении потока от Б к А минимальное для исполнений КГВ...1, КГВ...4, КГВ...5, МПа | 0,3 | ||
| Давление на сливе пилота управления, МПа, не более | 6 | ||
| Давление управления максимальное / минимальное, МПа (не менее давления нагнетания) | 35 / 32 | ||
| Расход рабочей жидкости номинальный / максимальный, дм³/мин | 63 / 100 | 160 / 250 | 320 / 500 |
| Продолжительность включения при номинальных значениях давления и расхода, мин, для исполнения с электрогидравлическим управлением | 15 | ||
| Рабочий объем камеры управления, см³ | 1,5 | 4,90 | 10,0 |
| Внутренняя герметичность (максимальные внутренние утечки) по фаске / по зазору см³/мин не более | не допускается / 20 | не допускается / 30 | не допускается / 40 |
| Время срабатывания при номинальных значениях давления и расхода, сек (минимальное) | 0,05 | 0,1 | 0,15 |
| Масса клапана, кг, не более | 2,2 | 2,6 | 3,5 |
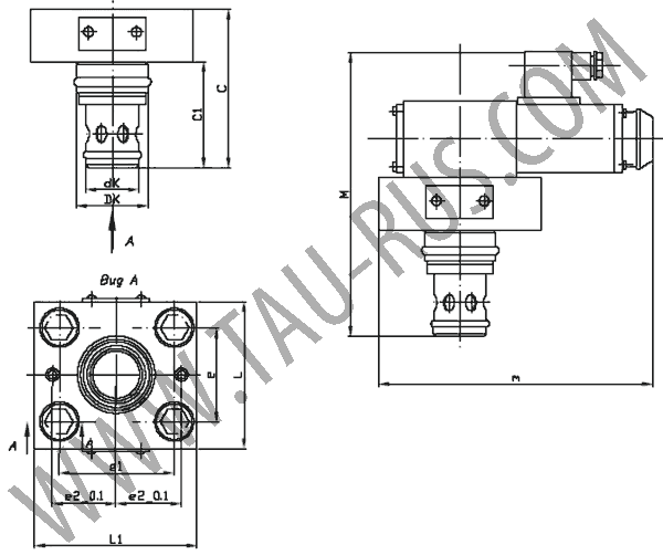
Габаритные и присоединительные размеры гидроклапанов КГВ-10, КГВ-20, КГВ-32
|
|
Пример условного обозначения клапана гидроуправляемого вставного монтажа с условным проходом 32 мм:
Клапан КГВ32 УХЛ4
