Обозначение и конструкция электромагнитов С31, C25.4
Электромагниты (соленоиды) для гидрораспределителей DS5 состоят из арматурной трубки (ввинченной в корпус клапана) и катушки, закрепленной на трубке и зафиксированной резьбовым кольцом. В трубке находится погруженный в масло плунжер, что обеспечивает отсутствие его износа при перемещении, а внутренняя часть трубки, находящаяся в контакте с маслом в возвратной линии обеспечивает отвод тепла.
Катушки могут поворачиваться на трубке на 360°, что позволяет удобно разместить их в пространстве.
Примечание 2: для снижения электромагнитного излучения, рекомендуется использовать разъемы типа "H", которые предотвращают скачки напряжения при размыкании электрической цепи питающей катушку.
Электромагниты (соленоиды, катушки) постоянного тока (C31-D24-K1, C31-D12-K1/20 и др.)
|
1 |
- |
2 |
3 |
/ |
4 |
|
C31 |
D24 |
K1 |
20 |
| 1 | Тип устройства | C31 - катушка постоянного тока для распределителей DS5 |
| 2 | Напряжение питания |
D12= 12 В D24= 24 В D110 = 110 В D220 = 220 В |
| 3 | Электрическое соединение катушки | K1= вилка электроразъёма DIN 43650 (стандартный вариант) |
| 4 | Номер серии (габаритные и монтажные размеры не изменяются от 20 до 29) |
10 20 22 |
Электромагниты переменного тока (C25.4-A110-K1/10, C25.4-A220-K1/11, C25.4-F110-K1/11 и др.)
|
1 |
- |
2 |
3 |
/ |
4 |
|
C25.4 |
A110 |
K1 |
10 |
| 1 | Тип устройства | C25.4 - катушка переменного тока для распределителей DS5 |
| 2 | Напряжение питания |
A24 = 24 В - 50 Гц A48 = 48 В - 50 Гц A110 = 110 В - 50 Гц (120 В - 60Гц) A230 = 230 В - 50 Гц ( 240В - 60 Гц) F110 = 110 В - 60 Гц F220 = 220 В - 60 Гц |
| 3 | Электрическое соединение катушки | K1= вилка электроразъёма DIN 43650 (стандартный вариант) |
| 4 | Номер серии (габаритные и монтажные размеры не изменяются от 20 до 29) |
10 11 |
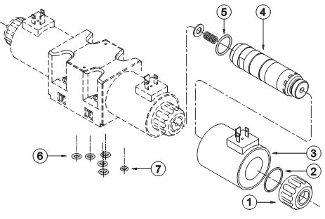
Запчасти для клапана постоянного тока
|
1 |
Фиксирующая гайка для катушки с уплотнительным кольцом код 0119383 |
|
2 |
Уплотнительное кольцо тип ORM 0320-25-70 |
|
3 |
Катушка |
|
4 |
Арматурная трубка ввинчиваемая в корпус: |
|
5 |
Уплотнительное кольцо тип OR 3-192 (15.6x1.78) |
|
Уплотнительные кольца типа OR 2050(4шт.) |
|
|
6 |
Уплотнительное кольцо типа OR 2037, только для версии с внешним дренажом в монтажной опорной плите (вариант /Y) |
НАБОР УПЛОТНЕНИЙ
Нижеприведённые коды включают уплотнительные кольца, поз. 2, 4, 6, 7
Код 1984418 Уплотнения NBR
Код 1984419 Уплотнения FPM (вайтон)
ВИНТЫ
Крепёжные винты (4 шт.) типа TCEI M5x30 (рекомендуется класс 12.9).
Крутящий момент при затягивании 5 Нм (винты А8.8) 8 Нм (винты А12.9)
Запчасти для клапана переменного тока
|
1 |
Фиксирующая гайка для катушки код.0119402 |
|
2 |
Уплотнительные кольца OR 4100 |
|
3 |
Катушка |
|
4 |
Арматурная трубка ввинчиваемая в корпус: |
|
5 |
Уплотнительное кольцо типа OR 3-912 (2 шт.) |
|
6 |
Уплотнительное кольцо типа OR 2050 (5 шт.) |
НАБОР УПЛОТНЕНИЙ
Нижеприведённые коды включают уплотнительные кольца, поз. 2, 4, 6, 7
Код 1984420 Уплотнения NBR
Код 1984421 Уплотнения FPM (вайтон)
ВИНТЫ
Крепёжные винты (4 шт.) типа TCEI M5x30 (рекомендуется класс 12.9).
Крутящий момент при затягивании 5 Нм (винты А8.8) 8 Нм (винты А12.9)
Электрические характеристики электромагнитов С31, C25.4
|
Колебания напряжения питания |
±10% от номинала |
|
Максимальная частота включения |
15000 в час |
|
Продолжительность работы |
100% |
|
Электромагнитная совместимость |
в соответствии с |
|
Низкое напряжение |
в соответствии с |
|
Класс защиты: |
|
Электромагниты C31 (постоянный ток)
|
Суффикс |
Номинальное напряжение |
Сопротивление при 20ºС |
Потребляемый ток |
Потребляемая мощность [Вт] |
Код катушки |
|
D12 |
12 |
3-3,4 |
3,81 |
45,8 |
1902870 |
|
D24 |
24 |
12-14 |
1,90 |
45,3 |
1902871 |
|
D110 |
110 |
235-270 |
0,44 |
48,4 |
1902872 |
|
D220 |
220 |
960-1110 |
0,21 |
47,1 |
1902873 |
Электромагниты C25.4 (переменный ток)
|
Номинальное напряжение |
Частота |
Сопротивление при |
Потребляемый пусковой ток |
Потребляемый ток удержания [А] (±5%) |
Потребляемая пусковая мощность (±5%)[ВА] |
Потребляемая мощность удержания (±5%)[ВА] |
Код катушки К1 и К12 |
|
|
A24 |
24 |
50 |
0,53 |
25 |
3,96 |
600 |
95 |
1902890 |
|
A48 |
48 |
2,09 |
12,5 |
2,3 |
600 |
110 |
1902891 |
|
|
A110 |
110В/50Гц |
50/60 |
10,9 |
5,2 |
0,96 |
572 |
105 |
1902892 |
|
120В/60Гц |
52,7 |
5,2 |
0,89 |
572 |
105 |
|||
|
A230 |
110В/50Гц |
10,9 |
2,8 |
0,46 |
644 |
105 |
1902893 |
|
|
120В/60Гц |
52,7 |
2,8 |
0,38 |
644 |
105 |
|||
|
F110 |
110 |
60 |
8,8 |
5,2 |
0,95 |
572 |
105 |
1902894 |
|
F220 |
220 |
35,2 |
2,7 |
0,48 |
594 |
105 |
1902895 |
Наиболее часто в производстве можно встретить катушки (соленоиды) электромагнитов C31-D24-K1 (на распределителях, питающихся от сети 24В, постоянный ток) и C25.4-A110-K1, C25.4-A220-K1 (на распределителях, питающихся от сети 110В/50Гц, 220В/50Гц соответственно).

