Описание гидроклапанов МКОВ
Гидроклапаны МКОВ (клапаны обратные встраиваемые) предназначены пропускания потока рабочей жидкости только в одном направлении и запирания в обратном.Область применения – гидроприводы станков, мобильной техники, кузнечно-прессового оборудования, литейных машин, литьевых машин и другого оборудования, имеющего гидрофицированный привод.
Условия эксплуатации клапанов МКОВ:
- фильтруемая жидкость: минеральное масло с вязкостью до 200 мм²/с (200 сСт);
- тонкость фильтрации: 25 мкм;
- температура рабочей жидкости: от +10°C до +70°C;
- температура окружающей среды: от -45°C до +55°C;
- положение при эксплуатации: любое пространственное положение.
- для клапанов МКОВ-16/3Ф1, МКОВ-16/3Ф2, МКОВ-16/3Ф3 до 100 л/мин;
- МКОВ-25/3Ф1, МКОВ-25/3Ф2, МКОВ-25/3Ф3 до 160 л/мин;
- МКОВ-32/3Ф1, МКОВ-32/3Ф2, МКОВ-32/3Ф3 до 320 л/мин;

Р - отверстие для входа рабочей жидкости под давлением;
А - отверстие для присоединения к другим устройствам.
Структура условного обозначения и размеры
|
1 |
- |
2 |
3 |
4 |
5 |
|
МКОВ |
*/3Ф |
Х |
ХХХ |
Х |
| 1 | Типа аппарата |
МКОВ - гидроклапан обратный встраиваемый, присоединительные размеры по СТ СЭВ 1865-79 |
| 2 | Исполнение по условному проходу |
16 –16 мм; 25 –25 мм; 32 –32 мм; |
| 3 | Исполнение по давлению открытия |
1 – 0,05 МПа; 2 – 0,15 МПа; 3 – 0,30 МПа; |
| 4 | Климатическое исполнение |
УХЛ - для районов с умеренным и холодным климатом; О - общеклиматическое |
| 5 | Категория размещения |
2 - для общеклиматического исполнения; 4 - для районов с умеренным и холодным климатом. |
|
Шифр клапана |
H |
h |
h1 |
D |
d |
d1 |
d2 |
d3 |
B |
m |
|
МКОВ-16/3Ф |
76 |
56 |
9 |
32 |
25 |
9 |
М12 |
14 |
65 |
46 |
|
МКОВ-25/3Ф |
98 |
72 |
10 |
45 |
34 |
14 |
М16 |
20 |
85 |
58 |
|
МКОВ-32/3Ф |
112 |
85 |
7 |
60 |
45 |
17 |
М20 |
26 |
85 |
70 |
Основные характеристики гидроклапанов МКОВ (клапанов обратных встраиваемых)
| Обозначение | Условный проход, мм | Номинальное давление, МПа | Давление открывания обратного клапана, МПа | Номинальный расход, л/мин | Масса, кг |
| МКОВ16/3Ф1 |
16 |
32,0 |
0,05 |
100 |
0,9 |
| МКОВ16/3Ф2 |
0,15 |
||||
| МКОВ 16/3Ф3 |
0,3 |
||||
| МКОВ 25/3Ф1 |
25 |
32,0 |
0,05 |
160 |
1,7 |
| МКОВ 25/3Ф2 |
0,15 |
||||
| МКОВ 25/3Ф3 |
0,3 |
||||
| МКОВ 32/3Ф1 |
32 |
32,0 |
0,05 |
320 |
2,7 |
| МКОВ 32/3Ф2 |
0,15 |
||||
| МКОВ 32/3Ф3 |
0,3 |
МКОВ-16/3Ф2 гидроклапан обратный
Гидроклапан обратный МКОВ-16/3Ф.2
- условный проход 16 мм;
- тип монтажа: вставной (фланцевый);
- номинальное давление 32 МПа;
- номинальный расход рабочей жидкости 100 л/мин;
- давление открывания обратного клапана 0,15 МПа
- климатическое исполнение: для районов с умеренным и холодным климатом;
- масса клапана не более 0,90 кг.
МКОВ-32/3Ф2 гидроклапан обратный
Гидроклапан обратный МКОВ-32/3Ф.2
Технические характеристики клапана МКОВ32/3Ф2:
- условный проход 32 мм;
- тип монтажа: вставной (фланцевый);
- номинальное давление 32 МПа;
- номинальный расход рабочей жидкости 320 л/мин;
- давление открывания обратного клапана 0,15 МПа
- климатическое исполнение: для районов с умеренным и холодным климатом;
- масса клапана не более 2,70 кг.
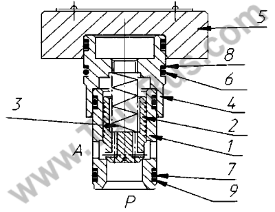
Описание устройства гидроклапана МКОВ
Устройство
Обратный клапан размещен в монтажном гнезде гидроблока и уплотняется резиновыми кольцами 6 и 7, а так же защитными кольцами 8 и 9.
Клапан 2, имеющий возможность осевого перемещения в гильзе 1, прижат пружиной 3 свое конической поверхностью к острой кромке гильзы 1, обеспечивая герметичное разделение гидролиний подвода P и отвода А.
Обратный клапан работает следующим образом
Подведенные в гидролинию P (с торца гильзы 1) поток рабочей жидкости воздействует на клапан 2 и, преодолевая усилие пружины 3, перемещает его вдоль оси гильзы 1. При этом обеспечивается пропускание потока рабочей жидкости в гидролинию A.
При подводе потока рабочей жидкости в гидролинию A (сбоку гильзы 1) клапан 2 под воздействием пружины 3 и давления рабочей жидкости прижимается к острой кромке гильзы 1 и герметично разделяет гидролинии A и P.
Пример условного обозначения при заказе клапанов МКОВ:
МКОВ-32/3Ф2 гидроклапан обратный
МКОВ-32/3Ф3 гидроклапан обратный
МКОВ-25/3Ф2 гидроклапан обратный
МКОВ-25/3Ф3 гидроклапан обратный
МКОВ-16/3Ф2 гидроклапан обратный
МКОВ-16/3Ф3 гидроклапан обратный