
Гидроблок ВЕХ16-...-ПППК
|
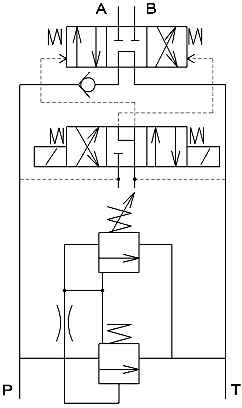
Гидравлические функциональные блоки (гидроблоки) ВЕХ16-14-Г24(В110, В220)-ПППК, ВЕХ16-24-Г24(В110, В220)-ПППК, ВЕХ16-34-Г24(В110, В220)-ПППК, ВЕХ16-44-Г24(В110, В220)-ПППК, ВЕХ16-64-Г24(В110, В220)-ПППК, ВЕХ16-574-Г24(В110, В220)-ПППК, изготовленные по техническим условиям ТУ4144-020-00221824-2003, с условным проходом 16 мм применяются для изменения направления движения, пуска и остановки рабочей жидкости в гидросистемах строительной, дорожной, сельскохозяйственной и другой мобильной техники. Климатическое исполнение гидравлических блоков ВЕХ16...ПППК по ГОСТ 15150-69. Гидроблоки ВЕХ16.64.ПППК и ВЕХ16.44.ПППК, в частности, применяется в гидросистемах тракторов для управления исполнительными механизмами при давлении до 25 МПа. Гидроблок комплектуется гидрораспределителями ВЕХ16 со всеми видами управления и схемами распределения потока рабочей жидкости. Гидроблоки функциональные типа ВЕХ16...ПППК (см. чертёж ниже) состоит из гидрораспределителя типа ВЕХ16 (В16), предохранительного клапана ГК2.25.00 и монтажной плиты. Присоединение к линиям гидросистемы мобильной техники резьбовое - резьба метрическая М33х2 (четыре отверстия на монтажной плите). |
Основные характеристики гидроблоков ВЕХ16-...-ПППК (без обратного гидроклапана)
| Параметры |
ВЕХ16.14.Г24.ПППК ВЕХ16.14.В110.ПППК ВЕХ16.14.В220.ПППК |
ВЕХ16.24.Г24.ПППК ВЕХ16.24.В110.ПППК ВЕХ16.24.В220.ПППК |
ВЕХ16.34.Г24.ПППК ВЕХ16.34.В110.ПППК ВЕХ16.34.В220.ПППК |
ВЕХ16.44.Г24.ПППК ВЕХ16.44.В110.ПППК ВЕХ16.44.В220.ПППК |
ВЕХ16.64.Г24.ПППК ВЕХ16.64.В110.ПППК ВЕХ16.64.В220.ПППК |
ВЕХ16.574.Г24.ПППК ВЕХ16.574.В110.ПППК ВЕХ16.574.В220.ПППК |
| Ду, мм | 16 | |||||
| Uуправл., В | 24 В (пост. ток), 110 В (перем. ток), 220 В (перем. ток) | |||||
| Pнастр. ном. / макс. / мин., МПа | по заказу / 25,0 / 1,0 | |||||
| Pмакс. на сливе, МПа | 6,0 | |||||
| Qном., л/мин | 80 | |||||
| Масса гидроблока не более, кг | 22,0 | |||||
Основные характеристики гидроблоков ВЕХ16-...-Н50(Н70)-ПППК (с обратным гидроклапаном)
| Параметры |
ВЕХ16-14-Н50-ПППК ВЕХ16-14-Н70-ПППК |
ВЕХ16-24-Н50-ПППК ВЕХ16-24-Н70-ПППК |
ВЕХ16-34-Н50-ПППК ВЕХ16-34-Н70-ПППК |
ВЕХ16-44-Н50-ПППК ВЕХ16-44-Н70-ПППК |
ВЕХ16-64-Н50-ПППК ВЕХ16-64-Н70-ПППК |
ВЕХ16-574-Н50-ПППК ВЕХ16-574-Н70-ПППК |
| Ду, мм | 16 | |||||
| Uуправл., В | 24 В (пост. ток), 110 В (перем. ток), 220 В (перем. ток) | |||||
| Pоткр. гидроклапана Н50 / Н70, МПа | 0,5 / 0,7 | |||||
| Pнастр. ном. / макс. / мин., МПа | по заказу / 25,0 / 1,0 | |||||
| Pмакс. на сливе, МПа | 6,0 | |||||
| Qном., л/мин | 80 | |||||
| Масса гидроблока не более, кг | 22,0 | |||||
Габаритные и присоединительные размеры гидроблоков ВЕХ16-...-ПППК
|
|
Пример условного обозначения при заказе гидроблока функционального с условным проходом 16 мм, на номинальное рабочее давление до 25 МПа, с 64-ой гидросхемой, управление от сети постоянного тока 24 В, подвод рабочей жидкости от основного потока, слив соединён с основным сливом, обратный гидроклапан с давление открывания 0,5 МПа, для районов с умеренным климатом:
Гидроблок ВЕХ16.64.Г24НМ.ЕТ-Н50-ПППК УХЛ4 ТУ4144-020-00221824-03
