![]() Муфта-тормоз УД-3124, УД-3130 |
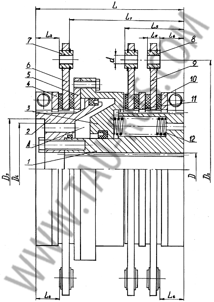
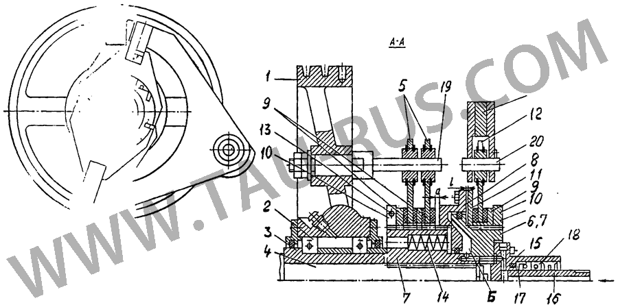
Муфта-тормоз УД3124, УД3130 (см. рисунок ниже) состоит из маховика 1-3 и муфты-тормоза 5-14, закрепленных на эксцентриковом валу 4 пресса, воздухоподводящей головки 15-18, закрепленной на муфте-тормозе и кронштейна 21, соединенного пальцами 20 с муфтой-тормозом и закрепленного на станине пресса. Опорами маховика 1 являются радиальные-шарикоподшипники 2, посаженные на втулку 3, установленную в свою очередь на эксцентриковый вал 4. Муфта-тормоз УД3124, УД3130 жестко сблокированная многодисковая фрикционная с пневматическим включением состоит из следующих частей:
ведущей - ведущих дисков 5 муфты с фрикционными накладками; По мере износа фрикционных накладок 5 и 12 увеличивается зазор «а», что вызывает повышенный стук при включении муфты и увеличивается расход воздуха. Для регулировки этого зазора служат разрезные гайки 10, которые фиксируются от отвинчивания гайками 13. Унифицированная воздухоподводящая головка ГВП состоит из корпуса 15, штуцера 16, расположенных между ними резиновых уплотнений 17 и радиальных шарикоподшипников 18. |
|
Работа муфты-тормоза УД3124, УД3130 происходит следующим образом:
Рекомендации по эксплуатации муфты-тормоза: |
|
Габаритные и присоединительные размеры муфты-тормоза УД3124, УД3130
Спецификация муфты-тормоз УД31... : |
||||||||||||||||||||||||||||||||||||||||||||||||||
Конструкция муфты-торомоза УД3124, УД3130
|
Поставляемые запчасти к муфте-торомозу УД3124, УД3130
| Муфта-тормоз | |
| Муфта-тормоз УД3124 | УД3124 |
| Муфта-тормоз УД3130 | УД3130 |
| Диски тормозные | |
| Диск тормозной УД3124 | Диск УД3124-01-010/401 |
| Диск тормозной УД3130 | Диск УД3130-01-010/401 |
| Накладки секторного типа | |
| Накладка секторного типа УД3124 | Накладка УД3124-01-009/801А |
| Накладка секторного типа УД3130 | Накладка УД3130-01-009/801А |
| Ремкоплекты | |
| Ремонтный комплект УД3124 | Ремкомплект УД3124 (манжеты) |
| Ремонтный комплект УД3130 | Ремкомплект УД3130 (манжеты) |
Применяемость фрикционных многодисковых муфт УД3124, УД3130:
пресса К2019, К2015

