У71-24А (=24) - Пневмораспределитель
У71-24А (=24) - Пневмораспределитель, 24В пост. ток. Ду=25мм
Описание пневмораспределителей с электромагнитным управлением У71-24А (=24)
Пневмораспределители У71-24А трехлинейные сдвоенные с номинальным напряжением 24В постоянного тока и условным проходом 25 мм с пневматической блокировкой, односторонним электропневматическим управлением, пневматическим возвратом и ручным дублированием управления, предназначены для управления кузнечно-прессовыми и другими машинами.Пневматические распределители рассчитаны для работы на сжатом воздухе при давлении от 0,25 МПа до 1,0 МПа, очищенном не грубее 10 класса загрязненности по ГОСТ 17433-80, содержащем распыленное масло вязкостью от 10 до 35 мм°/с (сСт) при температуре 50°С, концентрацией из расчета 2…4 капли на 1 м³ воздуха, приведенного к условиям по ГОСТ 12449. Климатическое исполнение УХЛ и О, категория размещения 4 по ГОСТ 15150.
На пневмораспределителях У71-24А устанавливается одна пластина-глушитель. Для повышения прочности и в целях сохранения целостности пластины-глушителя, поверх пластины-глушителя установлена металлическая защитная пластина. Защитная пластина вместе с пластиной-глушителем надёжно крепится к корпусу распределителя винтами.
Структура условного обозначения
1 |
2 |
3 |
4 |
5 |
У71-2 |
4А |
=24В |
УХЛ |
4 |
1 | Тип устройства |
У71-2 - пневмораспределитель трехлинейный сдвоенный![]() |
2 | Условный проход |
2А - 16 мм; 4А - 25 мм; 6А - 40 мм; |
3 | Номинальное напряжение |
Постоянный ток: 24В 110В Переменный ток: 24В 110В |
4 | Климатическое исполнение по ГОСТ 15150 |
УХЛ; О; |
5 | Категория размещения пневмораспределителя по ГОСТ 15150 | 4 |
Характеристики пневмораспределителей У71-24А (=24)
Параметры |
Типоразмеры |
||
У71-22А |
У71-24А |
У71-26А |
|
Условный проход, мм |
16 |
25 |
40 |
Номинальное давление, МПа |
1,0 |
||
Минимальное рабочее давление, МПа, не более |
0.25 |
||
Остаточное давление воздуха на выходе при опоражнивании пневмомагистрали через одну секцию пневмораспределителя при давлении 0.63 МПа, МПа, не более |
0,02 |
||
Пропускная способность пневматической линии "вход" ("1") -"выход" ("2"), Kv*, м3/час, не менее |
8 |
12 |
22 |
Пропускная способность пневматической линии "выход" ("2") -"атмосфера" ("3"), Kv*, м3/час, не менее |
10,5 |
18,5 |
27,0 |
Время включения при давлении 0.63 МПа, с, не более |
0,06 |
||
Время выключения при давлении 0.63 МПа, с, не более |
0,08 |
||
Максимальное число срабатываний, мин-1 |
100 |
90 |
70 |
Род тока |
постоянный |
||
Напряжение, В |
24, 110 |
||
Масса пневмораспределителя, кг, не более |
8,5 |
8,5 |
14,5 |
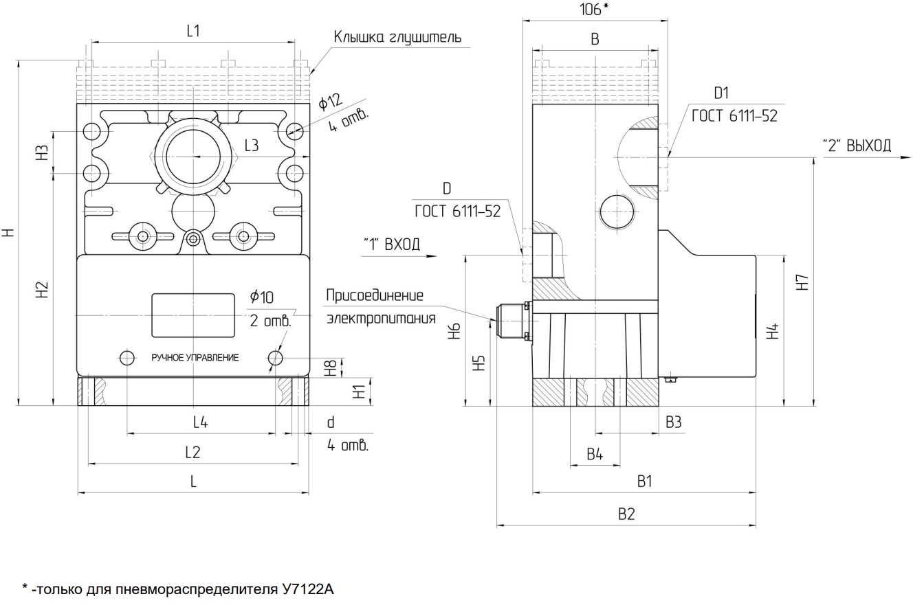
Габаритные и присоединительные размеры


Обозначение |
Размеры, мм |
||||||||||||||||||||
D |
D1 |
B |
B1 |
B2 |
B3 |
B4 |
H |
H1 |
H2 |
Н3 |
Н4 |
Н5 |
Н6 |
Н7 |
L |
L1 |
L2 |
L3 |
d |
d1 |
|
У7122А |
G1/2” |
G3/4” |
90 |
160 |
185 |
45 |
25 |
238 |
20 |
167 |
30 |
106 |
62 |
109 |
179 |
165 |
145 |
150 |
82,5 |
12 |
9 |
У7124А |
G1” |
G11/4” |
250 |
||||||||||||||||||
У7126А |
G11/2” |
G2” |
100 |
175 |
200 |
50 |
35 |
332 |
24 |
198 |
45 |
110 |
67 |
123 |
218 |
220 |
200 |
200 |
110,0 |
12 |
11 |
Устройство пневмораспределителей У71-24А
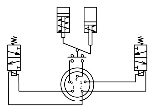
Конструктивно пневмораспределители У71-24А состоят из 2-х клапанных секций соединенных между собой. Управление работой каждой секции осуществляется трехлинейным распределителем с электромагнитным управлением. Для контроля неисправности каждой из трехлинейных секций к их полостям пневмоусилителей подключен сигнализатор - датчик давления. Электрическое управление каждой секцией осуществляется по самостоятельной цепи посредством разъема. Подключение распределителей У71-24А к пневматической сети осуществляться пневматическими трубками или жесткими трубопроводами с сечением согласно условного прохода пневмораспределителя (25 мм).
Описание работы пневмораспределителя У71-24А
При подаче электрического сигнала на электромагниты пилотных распределителей сжатый воздух поступает в полости пневмоусилителей обеих секций, клапанные блоки перемещаются к нижним седлам и перекрывают их, воздух поступает на выход распределителя. Если одна из секций не включилась (не выключилась), то на выходе распределителя давление не будет превышать 0,02 МПа, т.к. сжатый воздух будет стравливаться другой секцией в атмосферу, при этом электрическая цепь сигнализатора разомкнется.
Для исключения возможности рассогласования управляющих сигналов, приводящей к несинхронности срабатывания секций пневмораспределителя У71-24А, в конструкции распределителя предусмотрен электронный блок управления.
Чтобы оплатить покупку в интернет-магазине достаточно добавить заинтересовавший вас товар в корзину и перейти на ее страницу. Далее останется заполнить контактную информацию и данные о доставке или возможности для самовывоза. Автоматически сформируется счет для оплаты.
Для подтверждения заказа с вами свяжется наш менеджер.
Подробнее о том, как оформить заказа, рассказали в разделе «Помощь».
Также оформить заказ можно напрямую по почте info@Tau-Rus.com, наши менеджеры оперативно ответят и помогут с подбором аналогов, если это необходимо.
Заказ, оформленный в интернет-магазине, вы можете получить двумя способами: через самовывоз с нашего склада или посредством услуг транспортной компании (на этапе оформления заказа вы можете выбрать наиболее удобный вариант и подходящую транспортную компанию).
Об условиях и возможностях доставки, рассказали в разделе «Помощь» - «Условия доставки».