55БПГ73-11.В110 - Гидрораспределитель
55БПГ73-11.В110 - Гидрораспределитель
55БПГ73-11.В110 - Гидрораспределители стандартного исполнения
Гидрораспределители 55БПГ73-11.В110 - это золотниковые пятилинейные распределители с электромагнитным управлением, условным проходом 8 мм и номинальным напряжением 110В переменного тока. Данные распределители управляют направлением, пуском и остановкой потоков жидкости в соответствии с 55 схемой распределения по ГОСТ 24679-81.Наибольшее применение нашли в гидравлических приводах станков, прессов и других машин. Они могут быть использованы как пилоты в пилотных гидрораспределителях с электрогидравлическим управлением.
Структура условного обозначения
|
1 |
2 |
3 |
4 |
5 |
6 |
. |
7 |
|
55 |
Б |
П |
Г73-1 |
1 |
|
В110 |
|
1 |
Схема распределения потока |
Для исполнения на плите:
14, 24, 34, 44, 54, 64 - четырехлинейные распределители Для стандартного исполнения :
14, 24, 34, 44, 54, 64 - четырехлинейные распределители |
|
2 |
Число электромагнитов |
Без индекса - 2 электромагнита |
|
3 |
Присоединение |
П - Стыковое |
|
4 |
Обозначение по классификатору станкостроения |
Г73-1 - Гидрораспределитель реверсивный с электроуправлением |
|
5 |
Условный проход |
1 – 8 мм |
|
6 |
Модификация |
Без обозначения – стандартное исполнение М - Исполнение на плите |
|
7 |
Напряжение |
Переменный ток: |
Технические характеристики 55БПГ73-11.В110
|
Модель |
ПГ73-11 |
ПГ73-12 |
|
Условный проход, мм |
8 |
10 |
|
Давление нагнетания, кгс/см2 |
315 |
315 |
|
Давление на сливе, кгс/см2 , не более |
160 |
160 |
|
Расход, л/мин:
- с электромагнитом постоянного тока |
80 |
120 |
|
Время срабатывания при номинальном режиме, мин.
- с электромагнитом постоянного тока |
35 |
35 |
|
Допустимые внутренние утечки при номинальном давлении, см3 /мин |
80 |
80 |
|
Номинальное напряжение питания, В
- постоянного тока |
12, 24, 48, 110, 220, |
|
Схемы распределения потоков рабочей жидкости 55БПГ73-11.В110
|
Схема |
Условные графические обозначения распределителей |
Соединение каналов при среднем положении золотника |
|
|
Четырехлинейные |
Пятилинейные |
||
|
1 |
14ПГ73-11 |
15ПГ73-11 |
Обе полости цилиндра и напорная линия соединены со сливом |
|
2 |
24ПГ73-11 |
25ПГ73-11 |
Обе полости цилиндра соединены с напорной линией, слив заперт |
|
3 |
34ПГ73-11 |
35ПГ73-11 |
Обе полости цилиндра соединены со сливом, нагнетательная линия заперта |
|
4 |
44ПГ73-11 |
45ПГ73-11 |
Обе полости цилиндра, нагнетательная линия и слив заперты |
|
5 |
54ПГ73-11 |
55ПГ73-11 |
Среднего положения нет |
|
5А |
54БПГ73-11 |
55БПГ73-11 |
Среднего положения нет |
|
6 |
64ПГ73-11 |
65ПГ73-11 |
Обе полости цилиндра заперты, нагнетательная линия соединена со сливом |
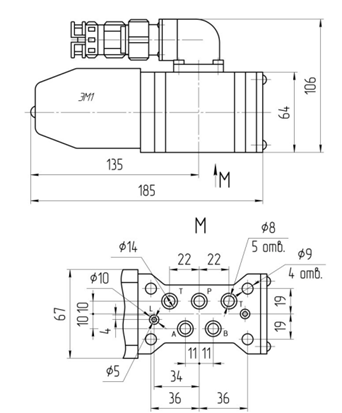
Монтажная поверхность гидрораспределителей 55БПГ73-11.В110 (Стандартное исполнение)

Чтобы оплатить покупку в интернет-магазине достаточно добавить заинтересовавший вас товар в корзину и перейти на ее страницу. Далее останется заполнить контактную информацию и данные о доставке или возможности для самовывоза. Автоматически сформируется счет для оплаты.
Для подтверждения заказа с вами свяжется наш менеджер.
Подробнее о том, как оформить заказа, рассказали в разделе «Помощь».
Также оформить заказ можно напрямую по почте info@Tau-Rus.com, наши менеджеры оперативно ответят и помогут с подбором аналогов, если это необходимо.
Заказ, оформленный в интернет-магазине, вы можете получить двумя способами: через самовывоз с нашего склада или посредством услуг транспортной компании (на этапе оформления заказа вы можете выбрать наиболее удобный вариант и подходящую транспортную компанию).
Об условиях и возможностях доставки, рассказали в разделе «Помощь» - «Условия доставки».
