Описание станций смазочных С48-1*М
Смазочные станции С48-1*М служат для нагнетания отфильтрованных масел в смазочные системы станочного оборудования и других машин.
Станции С48-1*М работают на отфильтрованном жидком смазочном материале, кинематическая вязкость которого 10-200 сСт при температуре от +5. до +50 °С, и температуре окружающей среды от 1 до 40 °С.
Класс чистоты смазочного материала не ниже 14.
Климатическое исполнение и категория размещения станций С48:
- предназначенных для стран с умеренным климатом УХЛ4;
- для стран с тропическим климатом — О4.1.
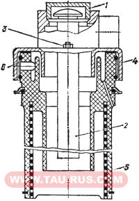
Устройство и работа
Смазочная станция типа С48-1*М содержит насосную установку, выполненную на базе шестеренного насоса 1 (см. чертёж слева) с фланцевым электродвигателем 2, фильтр тонкой очистки 3 с предохранительным клапаном 4, установленным на напорной линии насоса; резервуар 5, снабженный пробкой 6 для слива смазочного материала и указателями уровня масла 7, заливной фильтр 8. Для заземления станции на электродвигателе предусмотрен болт заземления 9.

Примечания к чертежу: I - отвод, II - слив, * - 4 отв.

В заливной фильтр входят крышка 1 (см. рисунок выше), магнитный патрон 2, предназначенный для задержания ферромагнитных частичек, содержащихся в заливаемом масле, крышка 4, корпус с фильтрующей сеткой 5, воздушный фильтр 6 для очистки от пыли воздуха, поступающего в резервуар.
Основные параметры станций С48-1*М
Параметры |
Норма для исполнения |
|||
Станция С48-11М |
Станция С48-12М |
Станция С48-13М |
Станция С48-14М |
|
Давление нагнетания номинальное / максимальное (давление настройки предохранительного клапана), МПа |
0,63 / 0,80 |
|||
Номинальная подача (при частоте вращения вала двигателя 3000 об/мин и кинематической вязкости рабочей жидкости 100...110 сСт), л/мин |
0,63 |
1,25 |
1,85 |
3,0 |
Мощность электродвигателя, кВт |
0,09 |
0,12 |
||
Коэффициент подачи не менее |
0,5 |
0,6 |
0,7 |
0,8 |
Тонкость фильтрации масла на выходе из станции, мкм |
40 |
|||
Номинальная вместимость резервуара, л |
10 |
|||
Масса станции (без смазочного материала) не более, кг |
12,5 |
13 |
Производить подтягивание болтов, гаек и других соединений во время работы станции, а также производить ее пуск без необходимого количества рабочей жидкости в резервуаре запрещается. Работа станции при параметрах, превышающих установленные паспортом, не допускается. Вывертывать предохранительный клапан во время работы станции запрещается.
Порядок установки, подготовки к работе и технического обслуживания станции смазки
Закрепить станцию к вертикальной плоскости смазываемого оборудования четырьмя болтами М8. Установку производить только в вертикальном положении электродвигателем вверх. Очистить и продуть сжатым воздухом напорный и сливной трубопроводы. Присоединить их к отверстиям для отвода и слива. Подвести и присоединить провода питания и заземления. Для возможности слива масла при его замене под станцией должно быть предусмотрено свободное место. Допускается установка станции на горизонтальную плоскость без крепления. В этом случае необходимы упоры, предотвращающие ее смещение. Для подготовки станции к работе очистить наружные поверхности станции, отвернуть крышку заливного фильтра и залить в станцию отфильтрованное масло до середины верхнего указателя уровня, включить станцию, после появления стабильного потока отработанного масла в заливном фильтре проверить наличие масла в нижнем указателе уровня, ввернуть крышку фильтра на место.Техническое обслуживание станций смазки заключается в периодическом пополнении бака маслом, подтягивании ослабевших соединений. Не менее одного раза в год следует промывать и очищать фильтры и полость бака. Для этого: разобрать напорный трубопровод и выкачать масло из бака; отсоединить сливной трубопровод, отвернуть две гайки и снять крышку заливного фильтра, извлечь магнитный патрон, отвернуть четыре винта и снять заливной фильтр; промыть сетку в чистом керосине, очистить магнитный патрон, стряхнуть пыль с воздушного фильтра; собрать фильтр. Отсоединить напорный трубопровод, отвернуть четыре винта и снять фильтр тонкой очистки, разобрать фильтр, промыть дисковые фильтроэлементы в чистом керосине, продуть сжатым воздухом и собрать. Отвернуть сливную пробку и слить остатки масла из корпуса станции. Через отверстия для фильтров протереть внутреннюю поверхность бака обтирочным материалом, не оставляющим волокон; ввернуть сливную пробку на место. Установить на место и закрепить заливной фильтр. Поместить в выточку на боковой стороне фланца уплотнительное кольцо и установить фильтр на место, слегка притянув его к крышке бака винтами. Легкими ударами молотка через деревянную прокладку по боковой стороне крышки фильтра прижать ее к фланцу насосной установки до полного устранения зазора, после чего окончательно затянуть винты.
Изменение настройки предохранительного клапана производить вращением винта, расположенного на передней стенке фильтра. Давление настройки контролировать по манометру, установленному на выходном отверстии.
Возможные неисправности и методы их устранения
Неисправность |
Причина |
Способ устранения |
1. Смазочный материал к точкам смазки не подается |
1.1 Настройка предохранительного клапана не соответствует противодавлению в точке смазки |
1.1 Настроить предохранительный клапан на давление, соответствующее указанному в таблице |
2. Течь в разъеме между фланцами фильтра и насосной установки |
2.1 Ослабло крепление фланцев и образовался зазор между ними |
2.1 Устранить зазор, подтянуть винты крепления фланцев. При необходимости заменить уплотнительное кольцо 008-012-25 |