Описание станций смазочных И-СЭ
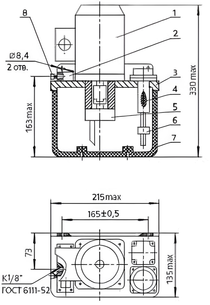
Станции И-СЭ состоят из бака, закрытого крышкой, к которой крепится насосная установка в виде шестеренного насоса с электродвигателем, клапанная коробка с дросселем выпуска воздуха, реле уровня и заливной фильтр с воздушным фильтром.
Бак вместимостью 2,5 дм³ выполнен из прозрачной пластмассы. Места для крепления станций с этим баком расположены на крышке.
Бак вместимостью 10 дм³ - металлический, имеет места для крепления станции, а также маслоуказатели верхнего и нижнего уровней.
Структура условного обозначения станций смазочных И-СЭ
|
1 |
- |
2 |
/ |
3 |
4 |
5 |
|
И-СЭ |
2,5 |
0,5 |
УХЛ4 |
ТУ2-053-1623-82 |
| 1 | Тип смазочной станции | И-СЭ |
| 2 | Вместимость бака, дм3 |
2,5 10 |
| 3 | Номинальная подача, л/мин |
0,5 1,0 |
| 4 | Климатическое исполнение по ГОСТ 15150 | УХЛ 4, О 4 |
| 5 | Обозначение технических условий | ТУ2-053-1623-82 |
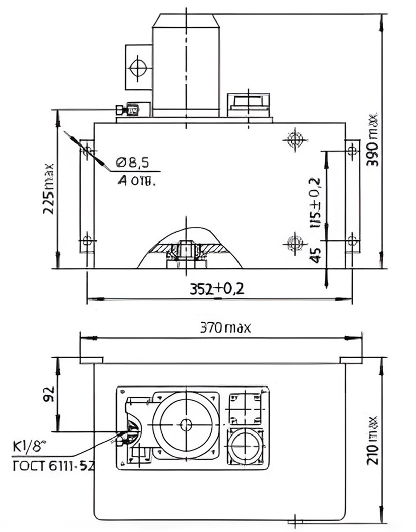
Габаритные и присоединительные размеры станций смазочных И-СЭ


Технические характеристики станций смазочных И-СЭ (при работе на чистом минеральном масле с кинематической вязкостью от 100 до 150 мм2/c)
|
Наименование параметра |
Норма для станций |
||
|
И-СЭ-2,5/0,5 |
И-СЭ-10/0,5 |
И-СЭ-10/1,0 |
|
|
Номинальная подача, л/мин |
0,5±0,125 |
0,5±0,125 |
1,0±0,25 |
|
Номинальная вместимость резервуара, дм3, не менее |
2,5 |
10 |
10 |
|
Давление нагнетания, МПа |
|
||
|
Давление настройки предохранительного клапана, МПа |
3,0±0,2 |
||
|
Давление настройки подпорного клапана, МПа |
0,04±0,02 |
||
|
Коэффициент подачи, не менее |
0,72 |
||
|
Тип насоса |
шестеренный |
||
|
Мощность приводного электродвигателя, кВт, не более |
0,09 |
||
|
Масса станции (без масла), кг, не более |
6,0 |
13,5 |
15,0 |
Применение импульсной станции смазки И-СЭ в системах смазки (из паспорта на открытые кривошипные пресса типа КД2126К, КД2128К)
В смазочной системе прессов КД2126К, КД2128К применяется централизованная импульсная система подачи жидкой смазки к направляющим ползуна, подшипникам эксцентрикового вала, шейке шатуна.Система состоит из смазочной станции И-СЭ-2,5/0,5, импульсных смазочных питателей, блока управления смазкой, реле давления, трубопроводов (трубка медная) и соответствующих соединений.
Блок управления смазкой служит для управления режимами смазки и контроля работы смазочной системы прессов КД. При подаче питания на ящик управления и наличии масла в баке смазочной станции И-СЭ-2,5-0,5 (контакты реле уровня замкнуты) напряжение подаётся на электродвигатель насоса. Включается сигнальная лампа "Автопрокачка".
Через 40 циклов схема из состояния "Автопрокачка" переходит в состояние "Набор давления". Включается электродвигатель насоса станции смазки И-СЭ и как только подвижные системы питателей переместятся в верхнее положение, давление в магистрали начинает резко расти и достигает порога срабатывания реле давления. При давлении 2,6 МПа реле включается и схема переходит в состояние "Пауза". Продолжительность паузы устанавливается переключателями в блоке управления смазкой.
В случае неисправности системы смазки (не срабатывает реле давления) схема переходит в состояние "Авария".
Прессы КД2126К и КД2128К рассчитаны на работу в режиме смазки через 500 ходов ползуна.
Схема централизованной импульсной системы смазки прессов КД2128К, КД216К
На схеме принципиальной (см. рисунок выше) централизованной импульсной системы смазки прессов однокривошипных открытых простого действия КД2128К, КД216К указаны следующие позиции:
1 - блок управления смазкой (БУС);
2 - смазочная станция И-СЭ-2,5/0,5;
3 - импульсный питатель;
4 - реле давления;
a - направляющие ползуна;
b - втулки эксцентрикового вала;
c - втулка шатуна.
