Описание фильтров-регуляторов П-МК
Модульное устройство (фильтр-регулятор) П-МК04.06, П-МК04.10, П-МК04.16 предназначено для очистки сжатого воздуха от капельной влаги и твердых инородных частиц, а также для удаления конденсированной влаги, регулировки и автоматического поддержания величины рабочего давления в пневмосистеме на требуемом уровне.
Фильтры регуляторы П-МК-04 применяются в пневмосистемах при рабочем давлении от 0,1 до 1,0 МПа. Вибропрочность и виброустойчивость модульных устройств П-МК 04 соответствует 2-ой степени жесткости по ГОСТ 28988-91.
К примеру, фильтр-регулятор П-МК 04-16 используется в составе блоков подготовки воздуха П-Б16.21, П-Б16.31.
Таблица присоединительных размеров П-МК 04
|
Обозначение устройства |
Диаметр присоединительных отверстий |
|
Фильтр-регулятор П-МК 04-06 |
G 1/4 |
|
Фильтр-регулятор П-МК 04-10 |
G 3/8 |
|
Фильтр-регулятор П-МК 04-16 |
G 1/2 |
Структура условного обозначения фильтра-регулятора П-МК04
|
1 |
. |
2 |
3 |
4 |
5 |
|
П-МК04 |
ХХ |
Х |
Х |
Х 4 |
| 1 | Условное обозначение модульного устройства типа фильтр-регулятор | П-МК04 |
| 2 | Величина условного прохода, мм |
6 10 16 |
| 3 | Класс загрязненности сжатого воздуха на выходе |
4 6 8 |
| 4 | Вид присоединительных отверстий |
4 - коническая резьба и полуавтоматическое удаление конденсата; 8 - гладкое отверстие и полуавтоматическое удаление конденсата; 3 - трубная цилиндрическая резьба и полуавтоматическое удаление конденсата |
| 5 | Климатическое исполнение ГОСТ 15150 | УХЛ, О |
Технические характеристики фильтров-регуляторов П-МК 04
|
Наименование параметров |
Исполнения по условному проходу |
||
|
П-МК04-06 |
П-МК04-10 |
П-МК04-16 |
|
|
Диаметр условного прохода |
6 |
10 |
16 |
|
Степень влагоотделения не менее, % |
95 |
||
|
Максимальный расход воздуха при давлении на входе 0,63 МПа, м3/мин |
0,25 |
1,25 |
2,0 |
|
Абсолютная тонкость фильтрации, мкм |
10 |
25 |
40 |
|
Диапазон настройки давления на выходе, МПа |
0,04...0,8 |
0,05...1,0 |
0,05...1,0 |
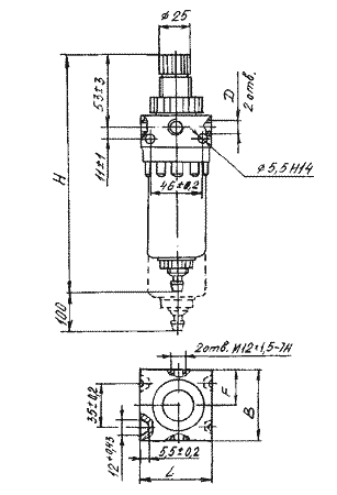
Габаритные и присоединительные размеры фильтра-регулятора П-МК 04
Чертёж П-МК 04-06
Чертёж П-МК 04-10, П-МК 04-16
Посмотреть таблицу габаритных и присоединительных размеров модульных устройств П-МК
При заказе фильтров-регуляторов П-МК04 наиболее часто используются следующие обозначения:
Фильтр регулятор П-МК 04.1064, П-МК 04.1084, П-МК 04.10х6
Фильтр регулятор П-МК 04.1664, П-МК 04.1684, П-МК 04.16х6
Фильтр регулятор П-МК 04.0664, П-МК 04.0684, П-МК 04.06х6


