Регуляторы расхода
Регулятор расхода — это устройство, состоящее из корпуса, внутри которого размещены два ключевых элемента: дроссель, отвечающий за настройку требуемого расхода, и клапан, поддерживающий постоянную разницу давлений (также известный как регулятор давления). Последний обеспечивает стабильность расхода независимо от изменений в системе. В зависимости от конструкции, регулятор давления может быть установлен как последовательно с дросселем, так и параллельно ему.
Области применения
Регуляторы расхода широко используются в гидравлических системах, где требуется точное управление потоком жидкости, например, в промышленном оборудовании, мобильной технике и других устройствах, работающих под переменными нагрузками.
Варианты исполнения по типу присоединения
1. Встраиваемые
Такие регуляторы монтируются непосредственно в монтажные гнёзда корпусных элементов и являются частью других гидравлических устройств.
2. Стыковые
Устанавливаются на плиту
Соединяются с другими гидроустройствами через каналы, выведенные на две параллельные наружные плоскости. Такие регуляторы часто выполняются в виде монтажных плиток, что обеспечивает удобство интеграции в сложные гидравлические системы.
Способы управления регуляторами расхода
Регуляторы расхода гидравлические могут отличаться по способам управления, что позволяет подобрать оптимальное решение для различных задач. Основные варианты управления включают:
-
Ручное управление
Регулировка осуществляется с помощью поворотной кнопки или рукоятки. Это простой и надежный способ, который не требует дополнительных источников энергии. -
Механическое управление
В таких регуляторах используется ролик с возвратной пружиной. Это позволяет автоматизировать процесс регулировки в зависимости от внешних механических воздействий. -
Электрическое управление
Регуляторы с электромагнитом на входе обеспечивают пропорциональное регулирование расхода на выходе. Они могут направлять избыточный поток во вторую гидролинию или непосредственно в бак гидравлической системы. Это наиболее гибкий и точный способ управления, подходящий для сложных систем.
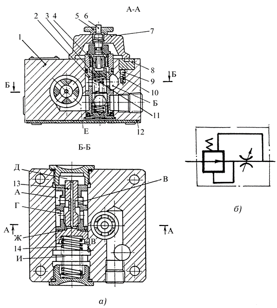
Устройство и принцип работы регулятора расхода МПГ55-2
Все каналы устройства выведены на стыковую плоскость корпуса (1), которая при транспортировке закрыта защитной крышкой (12). Внутри корпуса расположена втулка дросселя (2), внутри которой перемещается затвор дросселя (3). Положение затвора, а следовательно, и площадь проходного окна регулируются с помощью гайки (4). Гайка перемещается при вращении лимба (7), который связан с винтом (6). Положение лимба фиксируется гайкой (5).
Обороты лимба регистрируются счетчиком 8, поворачивающимся на 1/4 своего оборота при повороте лимба на один оборот. Для предотвращения самопроизвольного проворачивания счетчика используется шарик (9) с пружиной (10).
Затвор дросселя (3) поджимается снизу пружиной (11), которая обеспечивает его перемещение вверх при увеличении проходного сечения. Это происходит при вращении лимба (7) по часовой стрелке, что приводит к перемещению гайки (4) вверх.
Рис. 1 Регулятор расхода стыкового монтажа: а - устройство; б - условное обозначение
Подача жидкости происходит через входной канал в полость А регулятора давления. После прохождения окна В, которое ограничено кромкой плунжера 13, жидкость поступает в полости Г, Д, Ж и далее направляется в канал Е.
Оттуда она проходит через дроссельное окно во втулке 2 и, преодолев его, выходит в канал Б. Этот канал соединен с гидравлической линией, подающей жидкость к гидравлическому двигателю, а также с полостью И у торца грибкового плунжера 13, который поджимается пружиной 14.
Изменение давления на выходе устройства приводит к нарушению баланса сил, действующих на плунжер 13, что вызывает его смещение. В результате площадь проходного окна В и давление перед дросселем корректируются таким образом, чтобы поддерживать постоянную разность давления на дросселе и обеспечивать стабильный поток жидкости на выходе устройства.
Рис. 2 Регулятор расхода МПГ55-3
Рис. 3 Регулятор расхода РПМ 102
Компания «ТАУРУС» – ваш надежный партнер в обеспечении бесперебойного производства. Наши специалисты подберут и помогут купить регуляторы расхода. Доверьтесь опыту «ТАУРУС» – мы сделаем ваше производство эффективным и надежным!
