Описание гидроклапанов обратных 1МКО
Условное обозначение клапана 1МКО
|
1 |
- |
2 |
/ |
3 |
4 |
|
1МКО |
10 |
20 |
УХЛ4 |
| 1 | Тип устройства | 1 МКО = Гидроклапан обратный стыковой |
| 2 | Исполнение по условному проходу |
10 - 10мм 20 - 20мм 32 - 32мм |
| 3 | Номинальное давление на входе |
20 - 20МПа 32 - 32МПа |
| 4 | Климатическое исполнение и размещение по ГОСТ 15150 | УХЛ4 |
Основные параметры клапанов обратных 1МКО
|
Параметр |
1МКО-10/20 |
1МКО-20/20 |
1МКО-32/20 |
1МКО-10/32 |
1МКО-20/32 |
1МКО-32/32 |
|
Номинальное давление на входе, Мпа |
20 |
32 |
||||
|
Расход, л/мин: |
40 |
100 |
200 |
40 |
100 |
200 |
|
Давление открытия, Мпа |
0,035 |
|||||
|
Рабочая жидкость |
Рабочая жидкость на минеральной основе (HL, HLP) согласно DIN 51524; |
|||||
|
биологически быстро разлагаемая рабочая жидкость согласно VDMA 24568; |
||||||
|
HETG (рапсовое масло); HEPG (полигликоль); HEES (синтетические эфиры) |
||||||
|
Диапазон температур рабочей жидкости, ºС |
-30 ... +80 |
|||||
|
Температура окружающей среды, ºС |
до +50 |
|||||
|
Диапазон вязкостей жидкости, сСт |
25 ... 2320 |
|||||
|
Допустимая степень загрязнения жидкости |
класс 20/18/15 по ISO 4406:1999 |
|||||
|
Вес, кг |
1,6 |
4,1 |
7,5 |
1,6 |
4,1 |
7,5 |
Габаритные и присоединительные размеры гидроклапанов 1МКО
|
Модель |
A |
B |
C |
D |
E |
F |
G |
H |
I |
J |
K |
|
1МКО-10 |
80 |
30,1 |
10 |
68 |
47,6 |
23,8 |
60 |
47,6 |
12,7 |
65,5 |
49 |
|
1МКО-20 |
114 |
40,5 |
17,8 |
96 |
65,1 |
32,6 |
80,9 |
68,2 |
22,2 |
85 |
40 |
|
1МКО-32 |
131 |
46 |
19,5 |
129 |
92,1 |
46,1 |
92,1 |
71,4 |
20,1 |
105 |
51 |
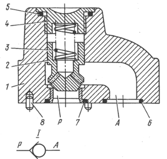
Принцип работы обратного клапана 1МКО
Гидроклапаны обратные, серии «1МКО» состоят из:
- Корпус
- Клапан
- Пружина
- Пробка
- Резиновое уплотнительное кольцо
- Резиновое уплотнительное кольцо
- Резиновое уплотнительное кольцо
- Штифт
- А. Выход
- Р. Вход
При поступлении масла под давлением в канал P, оно поднимает клапан, позволяя жидкости проходить в канал A.
Когда направление потока изменяется, масло из канала A поступает в полость над клапаном, прижимая его обратно к седлу корпуса и блокируя обратный поток в канал P. Герметичность соединения гидроклапана обеспечивается резиновыми уплотнительными кольцами 6 и 7.
